| NI | 5303321319 Frigidaire Refrigerator White Touch Up Paint |
| NI | WCI 216794406 |
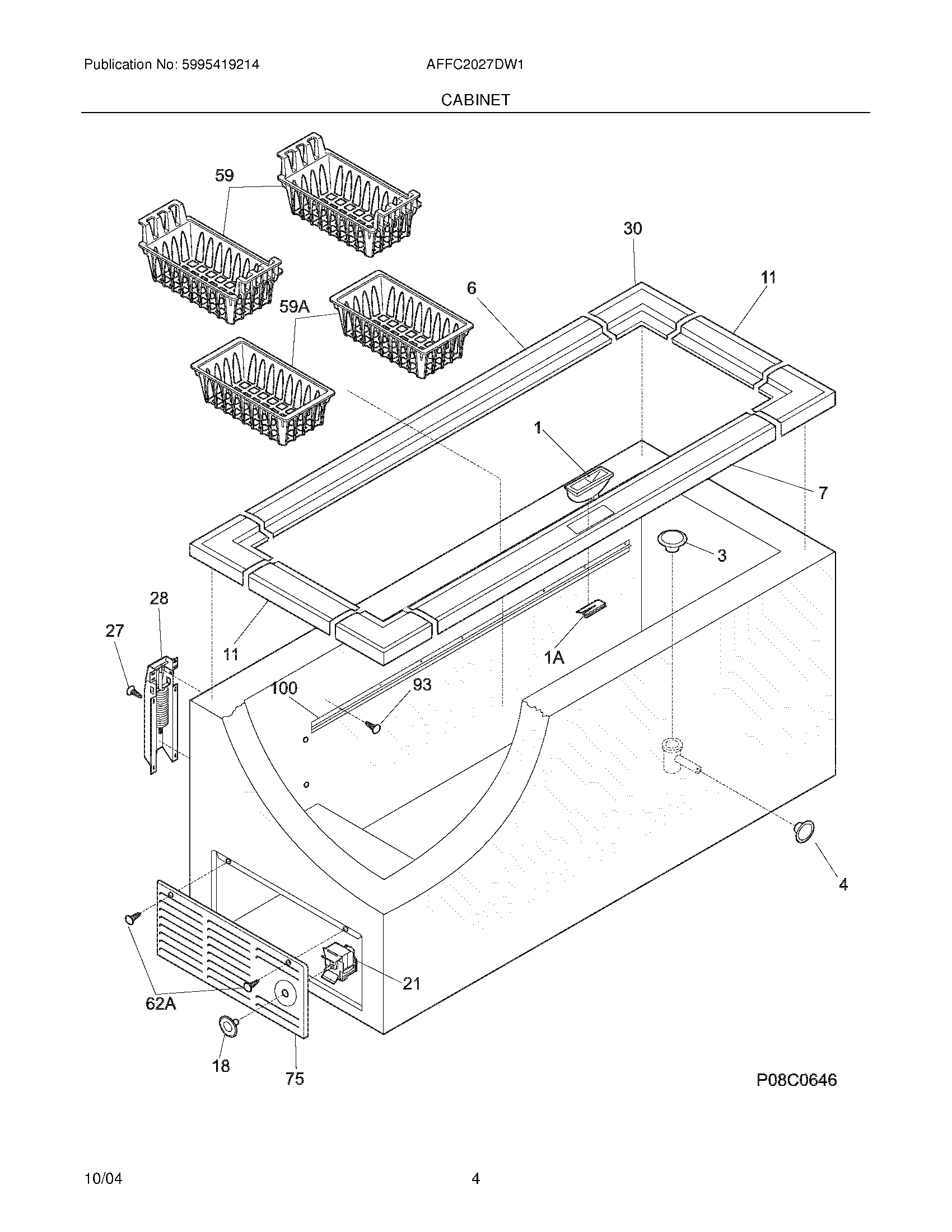
| 1 | WCI 216909800 |
| 1A | support-lock |
| 3 | PLUG-DRAIN,EXTERIOR |
| 4 | WCI 216073905 |
| 6 | WCI 216111200 |
| 7 | WCI 216111800 |
| 11 | Breaker,white ,ends |
| 18 | 216707200 Frigidaire Refrigerator Cold Control Knob |
| 21 | 216714600 Frigidaire Refrigerator Temperature Control P1 |
| 27 | 216629601 Frigidaire Refrigerator Screw |
| 28 | 297322000 Frigidaire Refrigerator Hinge Assembly |
| 30 | Breaker,white ,corners |
| 59 | WCI 216916201 |
| 59A | 216867400 Frigidaire Refrigerator Basket |
| 62A | 131420300 Frigidaire Screw |
| 75 | WCI 216034301 |
| 93 | 216858001 Frigidaire Refrigerator Screw |
| 100 | WCI 216205101 |