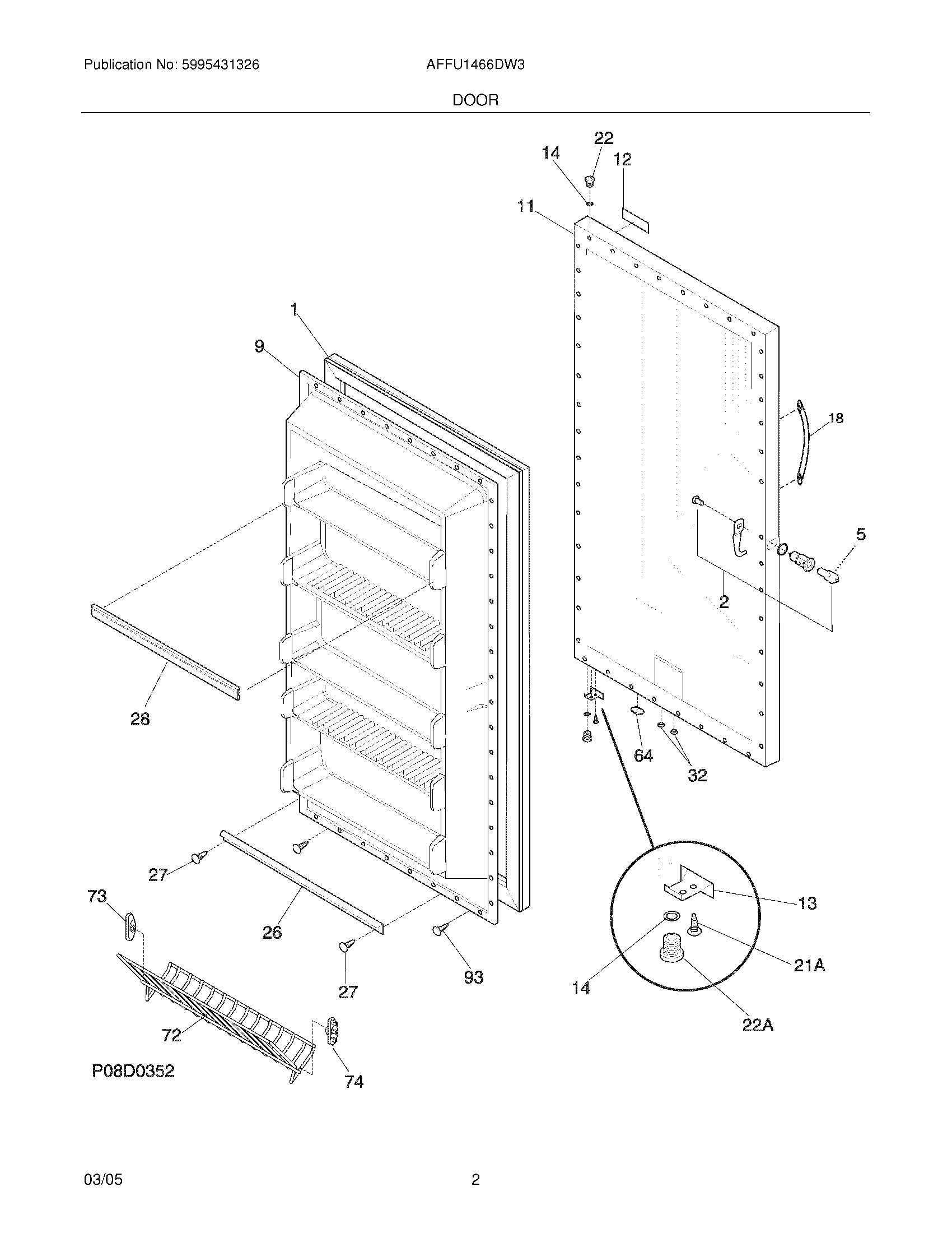
AFFU1466DW3 03 – DOOR