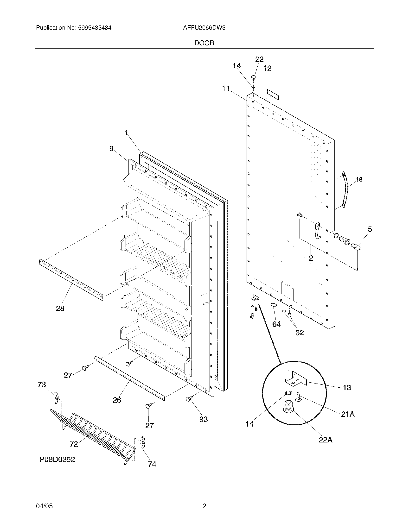
AFFU2066DW3 03 – DOOR