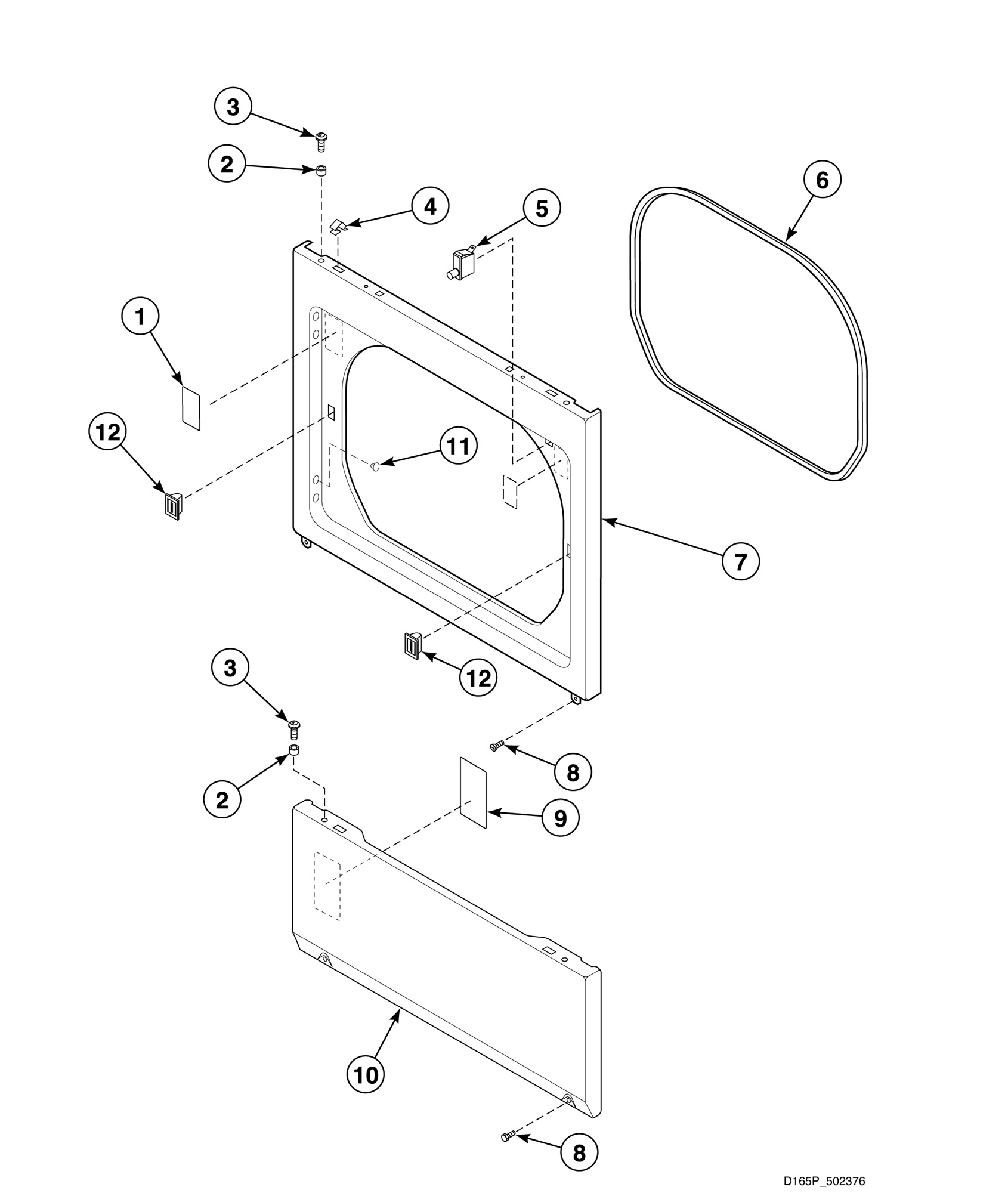
AGM199 Lower Access Panel, Front Panel and Sealadmin2025-04-26T11:32:28+00:00AGM199 Lower Access Panel, Front Panel and Seal ProductsPositionProduct1Warning/Caution Label2Panel Locator3Screw4Speed Clip5Switch6Front Panel Seal7Wire Harness Assembly7Front Panel (Comment: White)8Screw9Gas Clearance Label10Access Panel (Comment: White)10Access Panel (Comment: Almond)11Screw12Door Catch Assembly