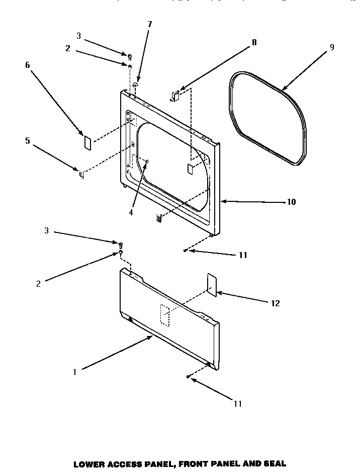
AGM409W2 10 – LOWER ACCESS PANEL, FRONT PANEL & SEAL