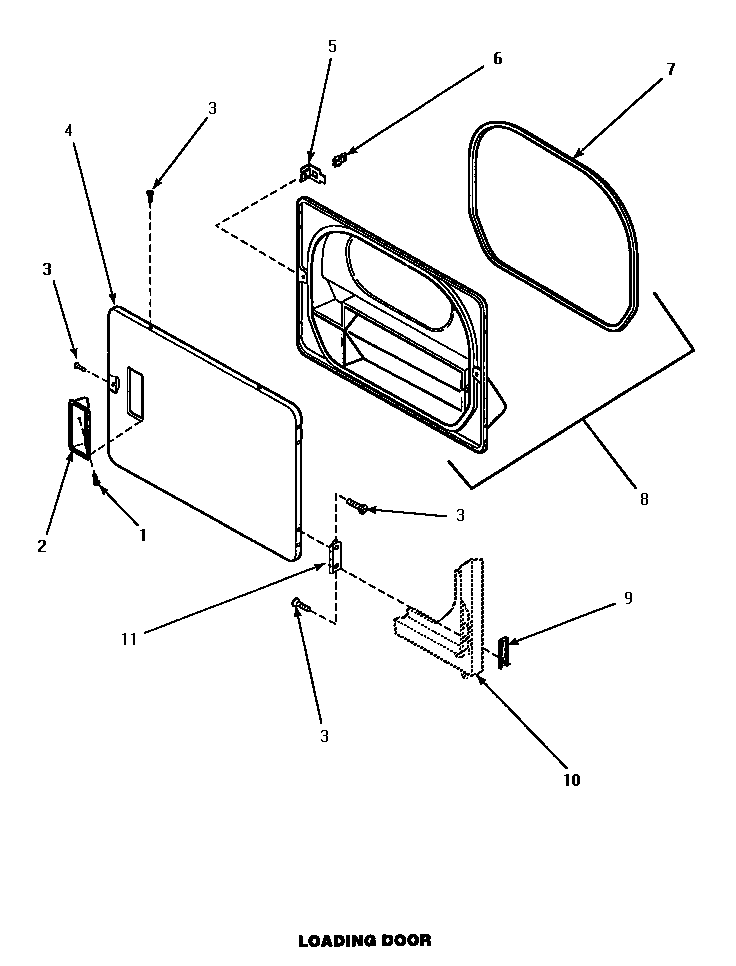
AGM479L2 09 – LOADING DOOR