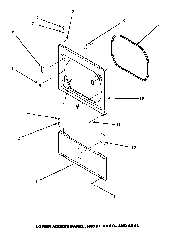
AGM679L2 04 – Ladmin2025-04-26T12:25:04+00:00AGM679L2 04 – L ProductsPositionProduct1MAY 500044W1MAY 500044L2MAY 560793MAY 326714MAY 5002275MAY 546606MAY 5002817MAY 288358MAY Y628729D500034 Speed Queen Front Panel Seal10MAY 500033L10MAY 500033W11MAY 3356212MAY 500670