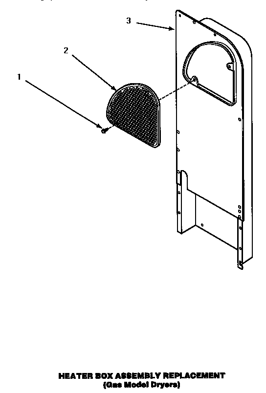
AGM699W 08 – HEATER BOX ASSY (REPLACEMENT)admin2025-04-26T12:23:59+00:00AGM699W 08 – HEATER BOX ASSY (REPLACEMENT) ProductsPositionProduct1MAY 5016682MAY 5008203MAY 500179P