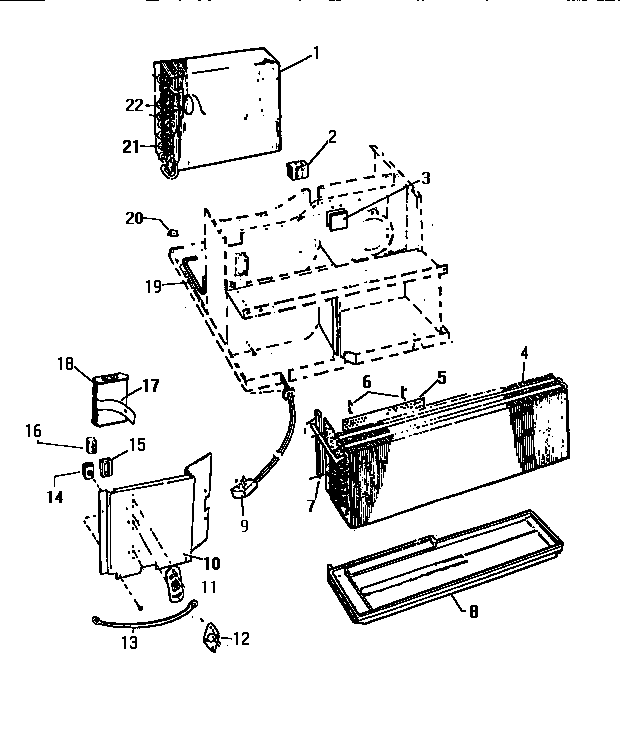
AH064J7T1 03 – CONTROL PARTSadmin2025-04-26T08:50:06+00:00AH064J7T1 03 – CONTROL PARTS ProductsPositionProduct1WCI 2627D44A022WCI C3444743SPRING, VENT DOOR3WCI 2627D77H014WCI A4099025BAFFLE EVAPORATOR6RETAINER-BAFFLE (NON-ILLUSTRATED)7WCI C3142108WCI 2628D62H029WCI A43501710CONTROL PANEL11WCI A33370212SPRING, DETENT13CABLE14WCI A33390315WCI A26280216WCI A26210817WCI 684B739H0118WCI 187C527H1819WCI C34511720WCI C31321821WCI A26530122WCI TUBE, CAPILLARY