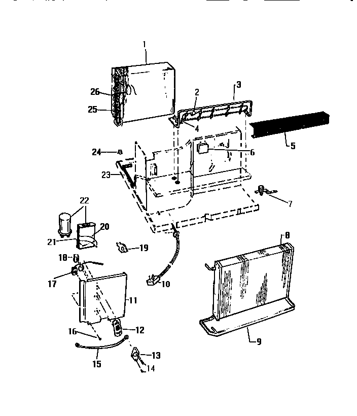
AH124J2T1 04 – CONTROLSadmin2025-04-26T08:49:55+00:00AH124J2T1 04 – CONTROLS ProductsPositionProduct1WCI 2627D49A102WCI A2861203WCI A4306104WCI A1225025WCI A3059016ASPRING, VENT DOOR6WCI 2627D77H017WCI C3133318WCI A4094099TRAY EVAP.10WCI A43501411WCI A42401012DETENT, BASE13SPRING, DETENT14WCI C50577415CABLE, VENT17WCI A33250318WCI A26211019WCI A31000320WCI A11630121WCI C50373822CAPACITOR23HOSE, DRAIN24WCI C31321825WCI A26530126CAPILLARY TUBE-CUT TO 35``