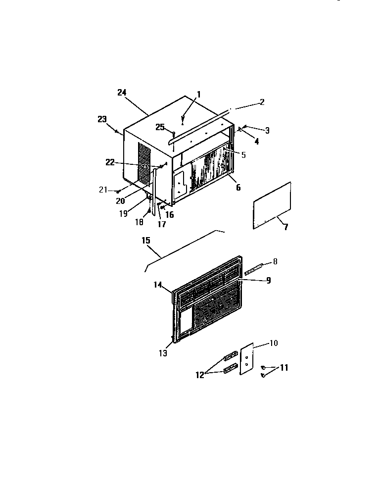
AHW938UC2 08 – CABINET, FRONT (`AAA` CABINET MODELadmin2025-04-26T08:50:04+00:00AHW938UC2 08 – CABINET, FRONT (`AAA` CABINET MODEL ProductsPositionProduct2WCI 80074932SUPPORT-TOP5CLIP-CAP. TUBE6CLIP (2)7WCI 80090188SEAL9WCI 80136319WCI 801363210WCI 800683711KNOB-CONTROL (3)12SEAL13WCI 801361913WCI 801308214WCI 800746115WCI 801362615WCI 801362515WCI 801308317SCREW (4)18SCREW (2)19SUPPORT20RETAINER (2)20RETAINER (2)21SCREW-FRONT LOCKING22NUT23SCREW24SHELL24SHELL25SCREW