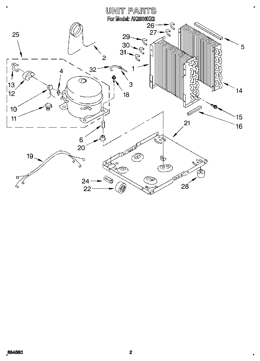
| 1 | Condenser |
| 2 | Tube, Restrictor (Length 36.00``) |
| 3 | WP1162526 Whirlpool Air Conditioner Strainer |
| 4 | Spring, Overload |
| 5 | Seal, Evaporator Top |
| 6 | Sleeve (4) |
| 10 | WPL 1164775 |
| 11 | Relay |
| 12 | Cover, Terminal |
| 13 | Retainer, Cover |
| 14 | Evaporator |
| 15 | WP489069 Whirlpool Compactor Screw |
| 16 | Seal |
| 18 | Bolt, 1/4-28 x 1`` (4) |
| 19 | Harness, Wire |
| 20 | Grommet (4) |
| 21 | Base |
| 22 | Roller (2) |
| 24 | Pin, Roller (2) |
| 25 | WPL 1164773 |
| 26 | Bend, Return Evaporator (4) |
| 27 | Bend, Return Evaporator (11) |
| 28 | Glide (2) |
| 29 | Bend, Return Condenser (1) |
| 30 | Bend, Return Condenser (4) |
| 31 | Bend, Return Condenser (10) |
| 32 | Bend Return |