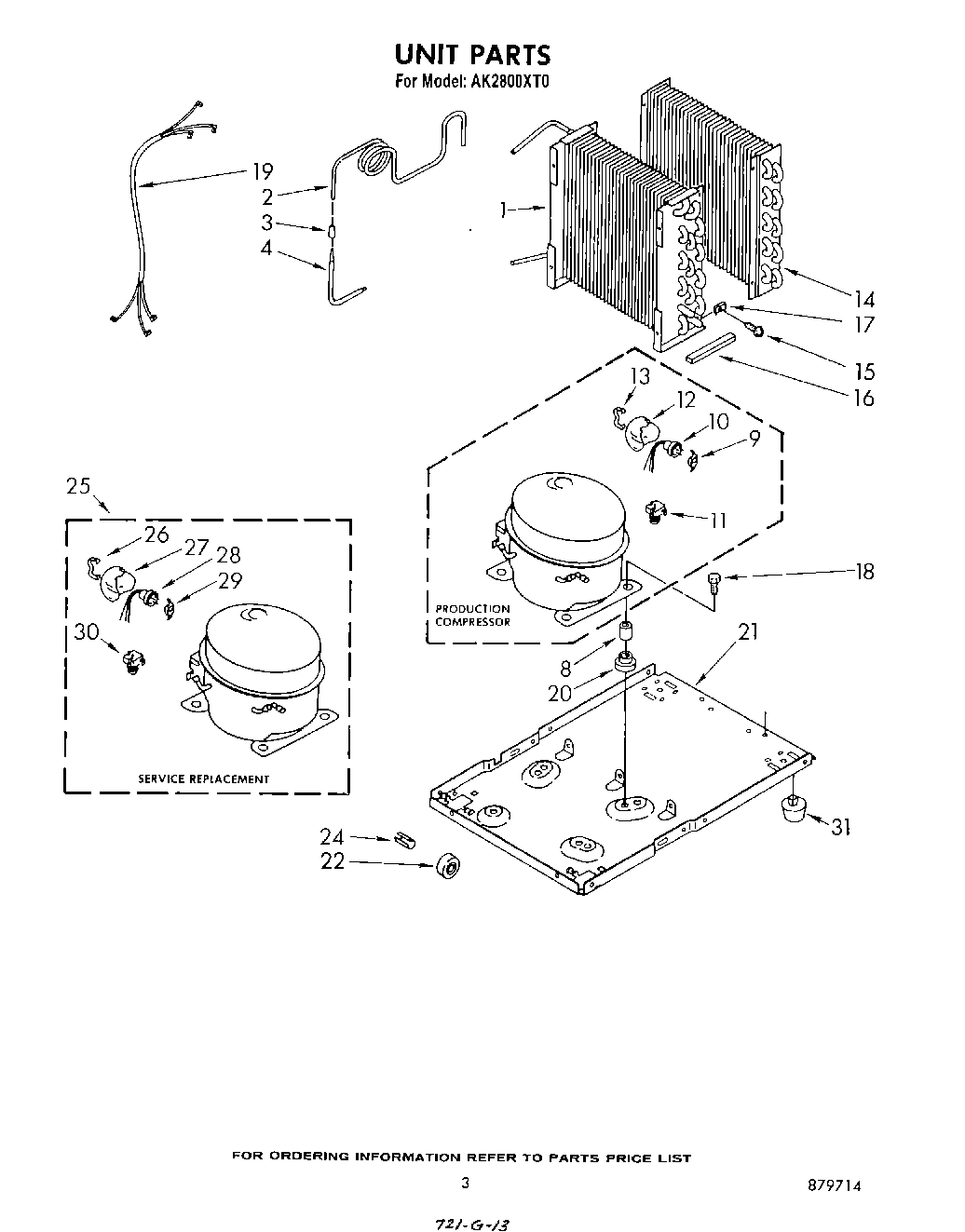
AK2800XT0 03 – SECTION