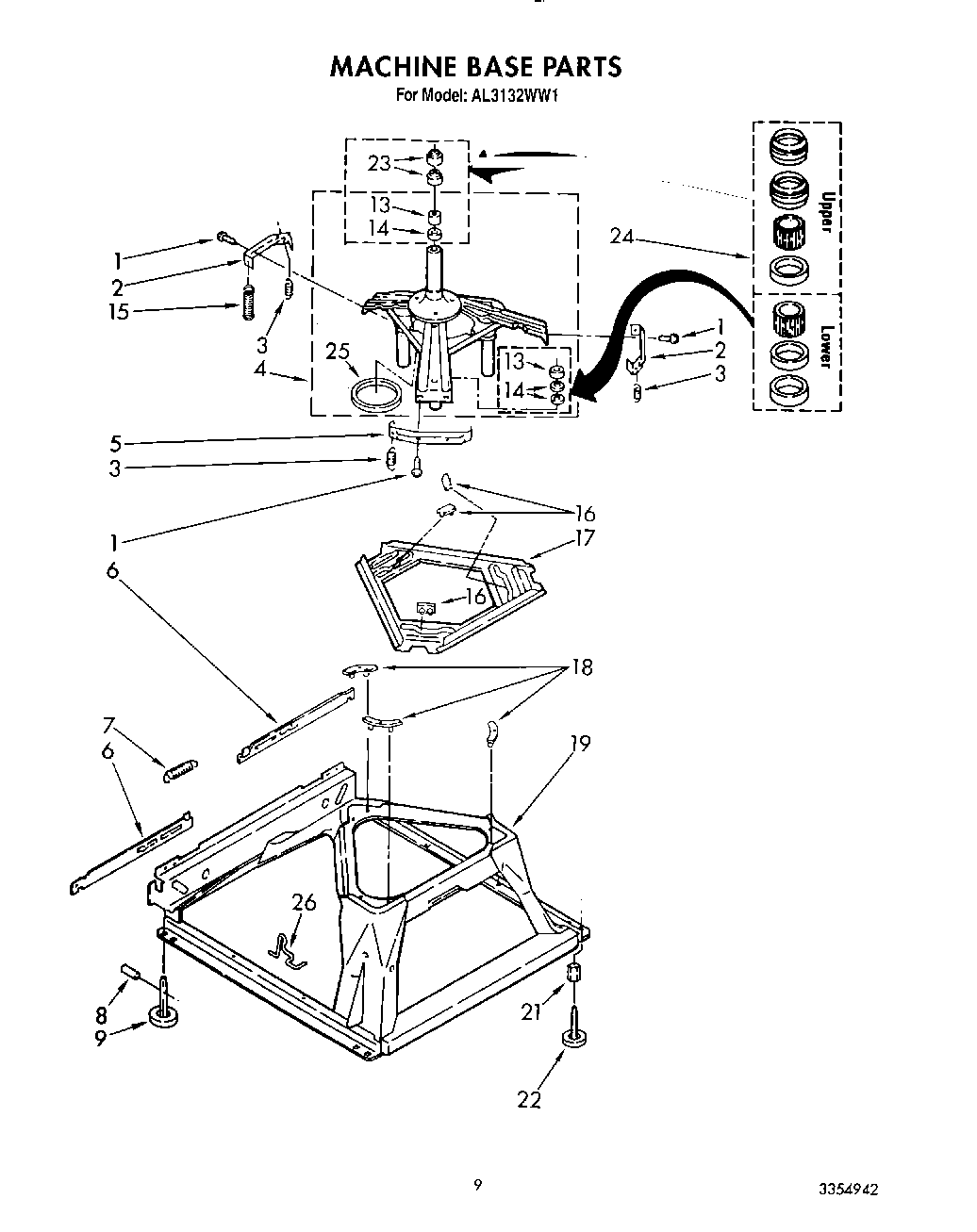
AL3132WL1 08 – MACHINE BASE