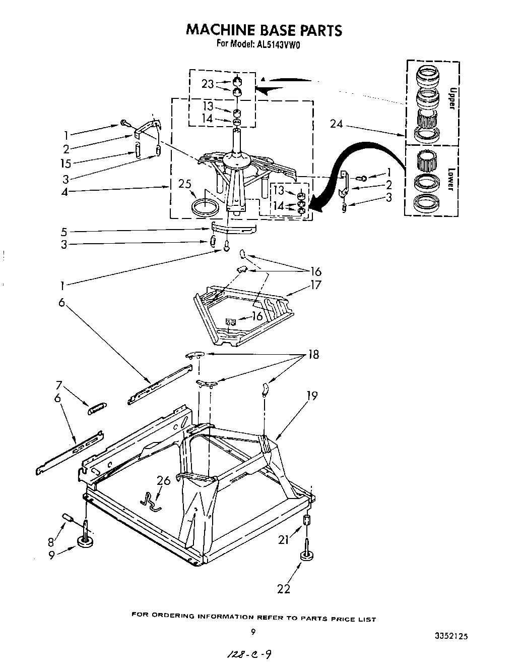
AL5143VG0 07 – MACHINE BASE