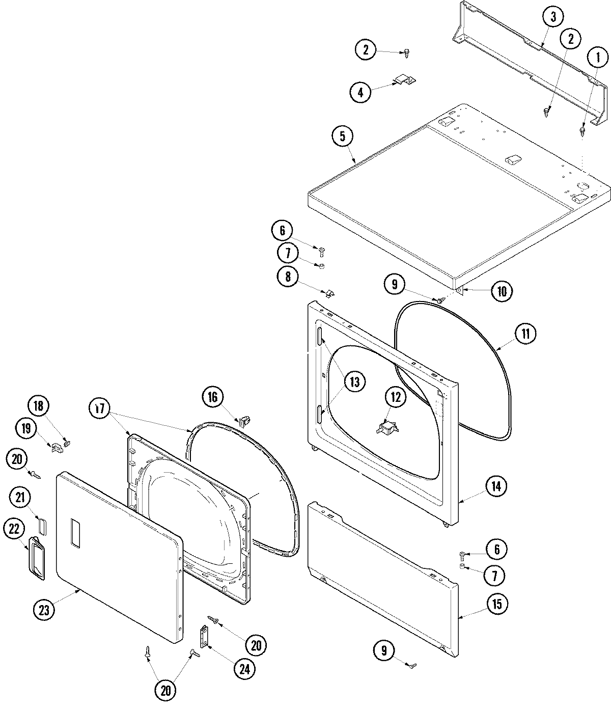
ALG230RCW 03 – DOOR, FRONT, ACCESS & TOP PANELSadmin2025-04-26T11:17:29+00:00ALG230RCW 03 – DOOR, FRONT, ACCESS & TOP PANELS ProductsPositionProduct1WP3390631 Whirlpool Screw2MAY 5010863MAY 401214014MAY Y5038765MAY 40114301WP6MAY 326717MAY 5051878MAY 560809MAY 50366110MAY 4013080111MAY 50400512W10169313 Whirlpool Door Switch Kit13MAY 50312614MAY 503656WP15MAY 40045301WP16MAY 5466017MAY 503643W17MAY 3700102818MAY 50003919MAY 4011620120MAY 50022621MAY 50532821NOT REQUIRED PART OR SEE NOTE FUSE (NOT REQUIRED)22MAY R980001223MAY 3700102923MAY 503654WP24MAY 37001030