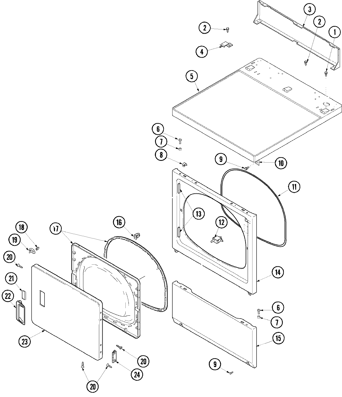
ALG643RMC 03 – DOOR, FRONT, ACCESS AND TOP PANELS