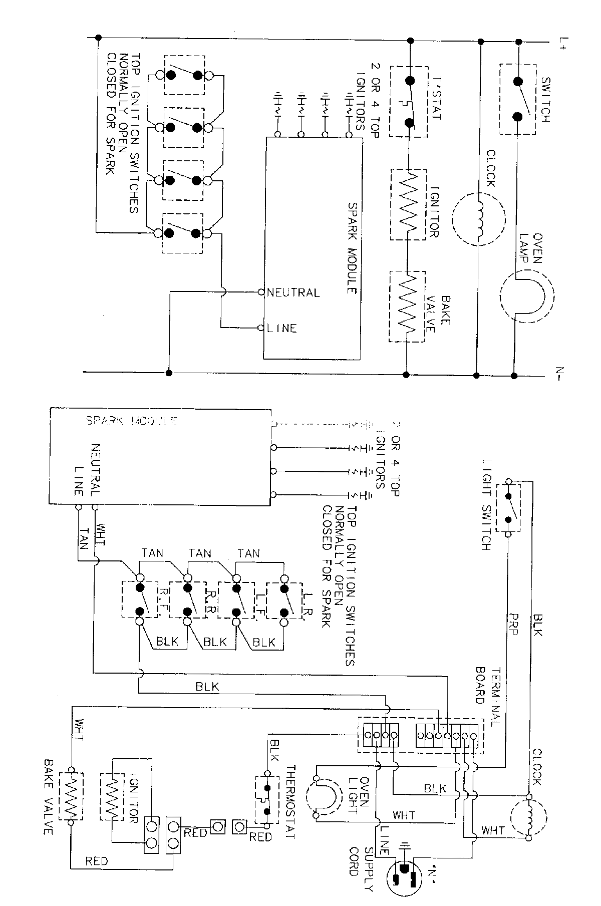
ALR1420BDQ 08 – WIRING INFORMATIONadmin2025-04-26T11:17:46+00:00ALR1420BDQ 08 – WIRING INFORMATION ProductsPositionProductNIMAY 15001767