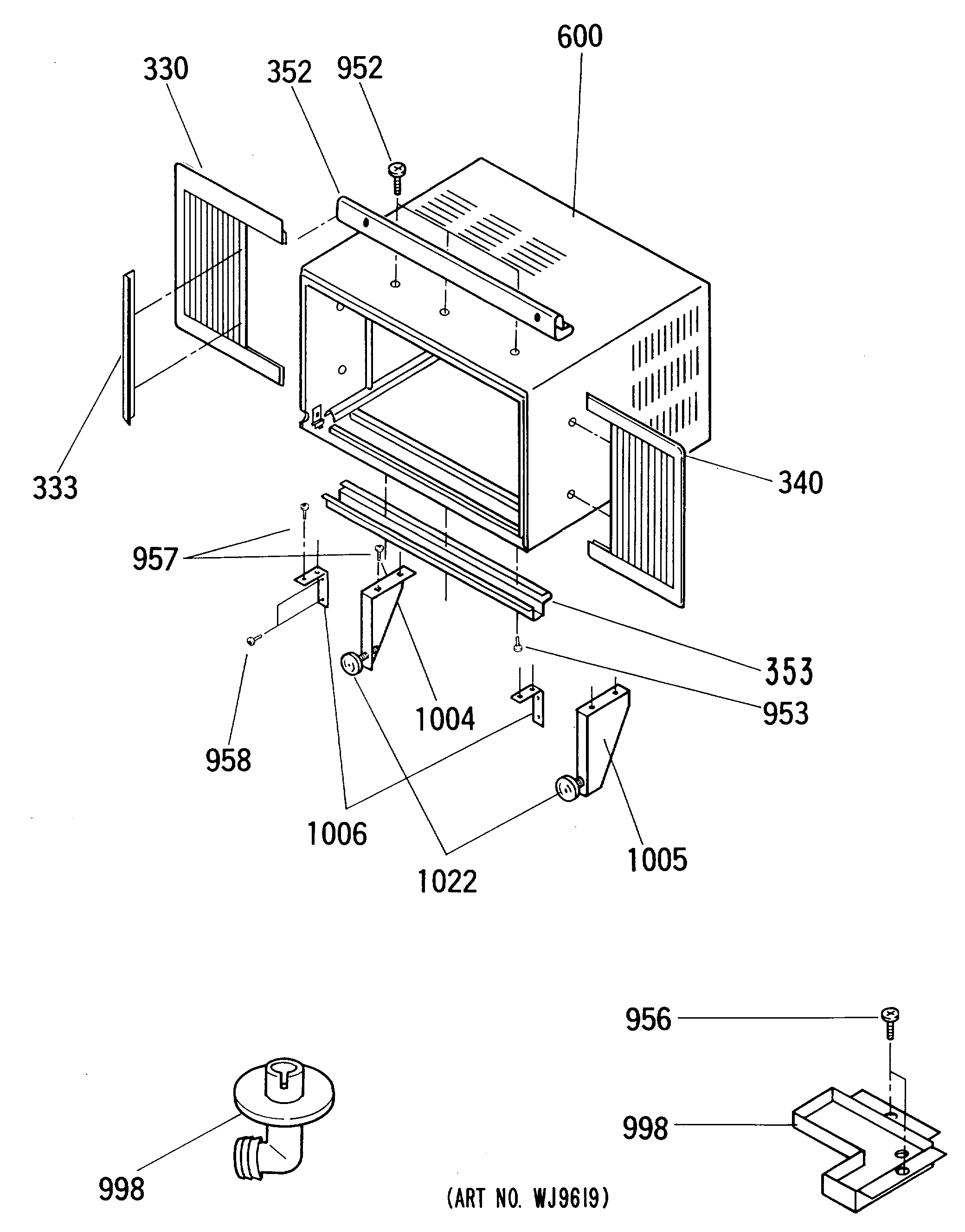
AMX12DAM1 3