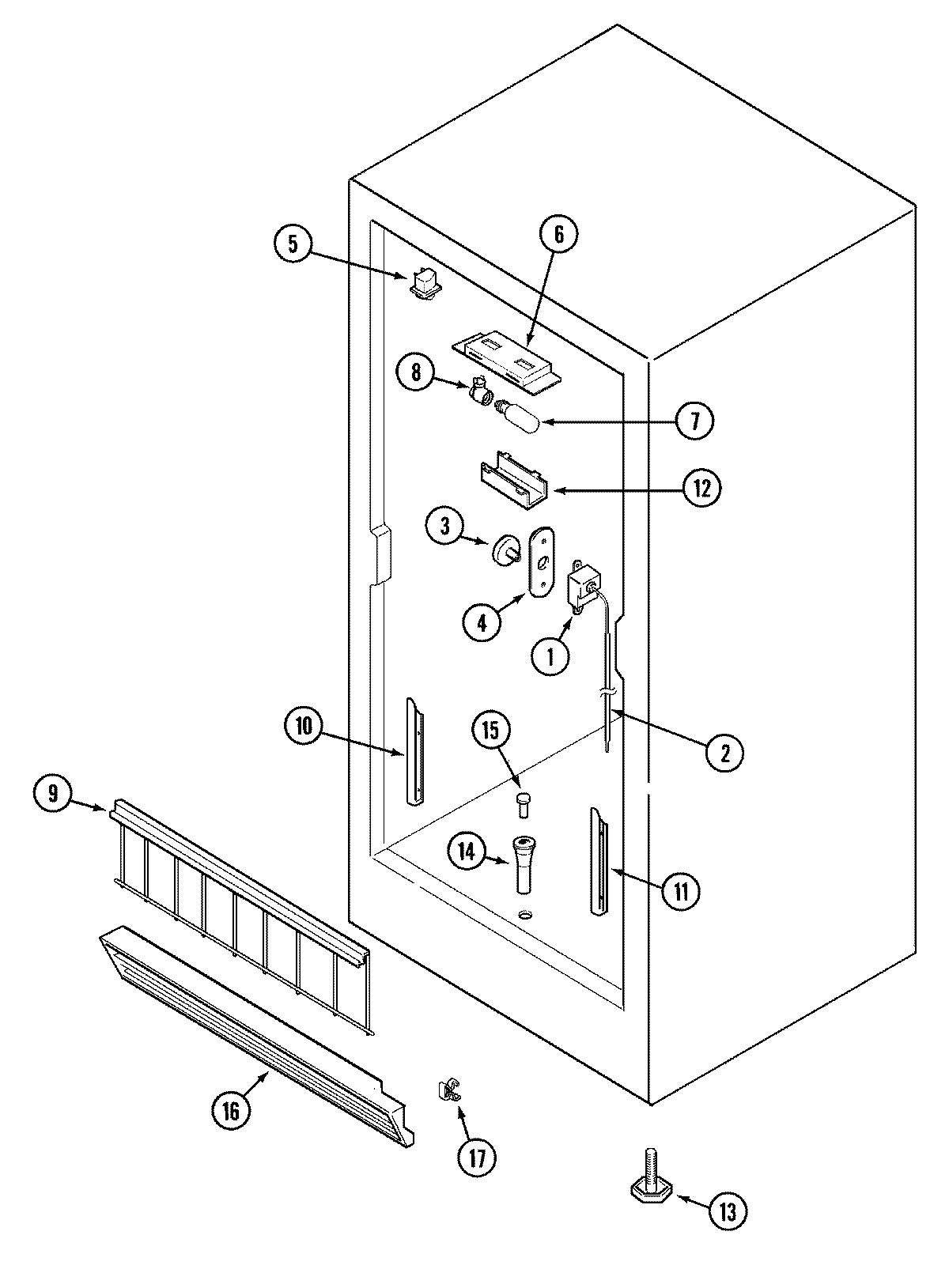
AQU1525AEW 02 – FREEZER COMPARTMENTadmin2025-04-26T08:56:32+00:00AQU1525AEW 02 – FREEZER COMPARTMENT ProductsPositionProduct1MAY 680011021MAY 680013872MAY 680016043MAY 680013854MAY 680010644MAY 680011925MAY 680013246MAY 680014407MAY Y091000738MAY 680015929MAY 68001516104-80576-202 Whirlpool Refrigerator Gate Support11MAY 6800105411MAY 65587-112MAY Y0485520113W11117769 Whirlpool Refrigerator Leveler14MAY 6800147215MAY 6800110316MAY 68001194171-80247-101 Whirlpool Refrigerator Clip17MAY Y04637302