| Wiring Diagram |
| List, Repair Parts |
| Instructions, Installation |
| Tech Sheet |
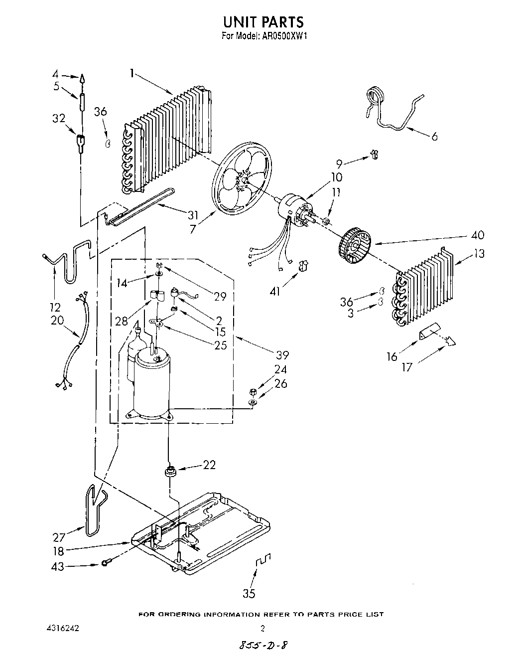
| 1 | Condenser |
| 2 | Overload |
| 3 | Bend, Return Condenser (4) |
| 4 | Strainer |
| 5 | Tube & Strainer (Includes Illus. 4) |
| 6 | Tube, Restrictor |
| 7 | Blade, Fan |
| 9 | Clip, Tube |
| 10 | Motor, Fan |
| 11 | WP488130 Whirlpool Air Conditioner Nut |
| 12 | Tube, Discharge |
| 13 | Evaporator |
| 15 | Spring, Overload |
| 16 | Anticipator, Temperature |
| 17 | Clip, Anticipator |
| 18 | Base |
| 20 | Harness, Wiring |
| 22 | Grommet |
| 24 | Nut, Hex (4) |
| 25 | WP950035 Whirlpool Cover Gasket |
| 26 | WP120393 Whirlpool Washer Assembly |
| 27 | Tube, Suction |
| 28 | WP950036 Whirlpool Cover Assembly |
| 29 | Gasket, Nut |
| 31 | Tube, Condenser Extension |
| 32 | Tube, Flow Divider |
| 35 | Clip, Mtg. (2) (Base to Front) |
| 36 | Bend, Return Condenser (10) |
| 39 | Compressor |
| 40 | Wheel, Blower |
| 41 | Clamp, Wiring |
| 43 | WP489069 Whirlpool Compactor Screw |