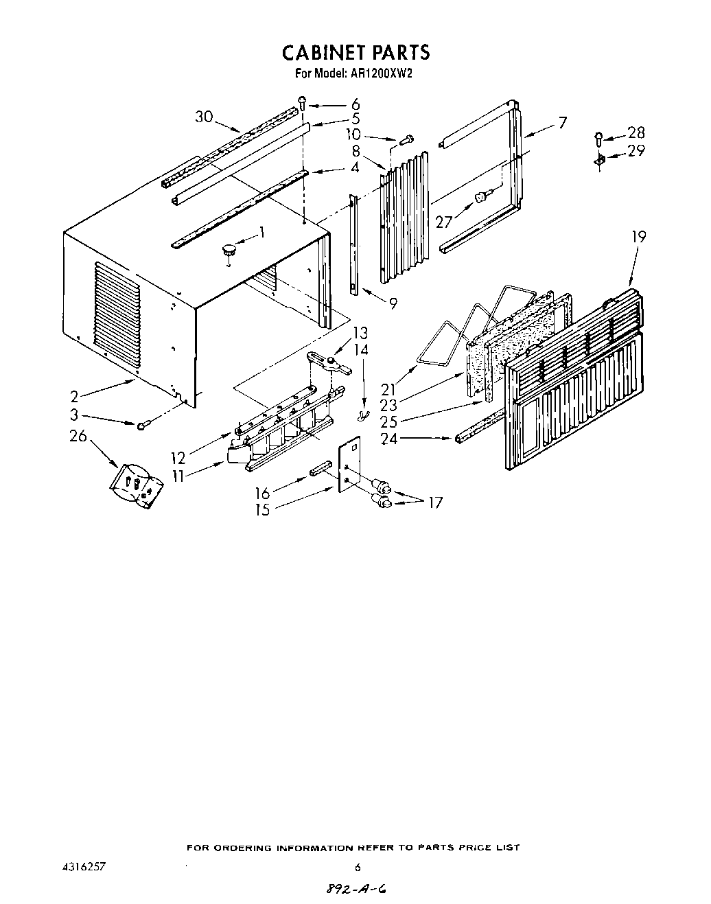
AR1200XW2 04 – CABINET