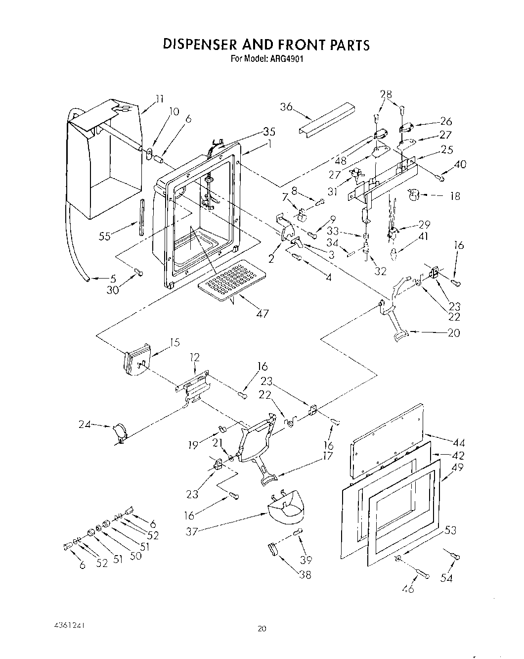
ARG4901 18 – DISPENSER AND FRONTadmin2025-04-26T12:43:05+00:00ARG4901 18 – DISPENSER AND FRONT
Products
| Position | Product |
|---|
| 1 | Housing, Dispenser |
| 2 | Bracket, Water |
| 3 | WP4388152 Whirlpool Refrigerator Fitting |
| 4 | WP965173 Whirlpool Dishwasher Screw |
| 5 | W10823511 Whirlpool Refrigerator Water Tube |
| 6 | 4387491 Whirlpool Refrigerator Insert |
| 7 | WP488878 Whirlpool Refrigerator Tube Clamp |
| 8 | WP488787 Whirlpool Refrigerator Screw |
| 9 | Screw, 8-18 x 3/4 |
| 10 | Grommet |
| 11 | Heater, Ice Dispenser |
| 12 | Door Mechanism Assembly (Includes Item 9) |
| 15 | Door, Ice |
| 16 | WP3400906 Whirlpool Refrigerator Screw |
| 17 | Lever Assembly, Ice Dispenser |
| 18 | Shroud, Bracket |
| 19 | Clip, Bearing (2) |
| 20 | Lever Assembly, Water Dispenser |
| 21 | Washer |
| 22 | Spring, Lever (2) |
| 23 | Bearing, Lever (3) |
| 24 | WP1120581 Whirlpool Refrigerator Mechanism |
| 25 | Bracket, Control |
| 26 | Switch |
| 27 | Insulator, Switch (2) |
| 28 | Screw, 4-40 x 1 |
| 29 | Socket, Lamp |
| 30 | WP489128 Whirlpool Refrigerator Screw |
| 31 | Switch, Light |
| 32 | Plunger, Extension |
| 33 | Spring, Plunger |
| 34 | Pin, Retainer |
| 35 | Wiring Harness, Door |
| 36 | Shield, Wiring |
| 37 | Guide, Ice |
| 38 | Stop, Glass |
| 39 | Screw |
| 41 | WP22002263 Whirlpool Dryer 10W Light Bulb |
| 42 | Front Cover, Housing |
| 44 | Cover, Dispenser Opening |
| 46 | WP488729 Whirlpool Refrigerator Door Screw |
| 47 | Grille, Overflow |
| 48 | Switch (2) |
| 49 | Overlay, Cover |
| 50 | WP4211117 Whirlpool Refrigerator Connector |
| 51 | WP245183 Whirlpool Nut |
| 52 | ``O`` Ring Seal (4) |
| 53 | W10903204 Whirlpool Refrigerator Washer |
| 54 | W10759522 Whirlpool Screw |
| 55 | Seal |