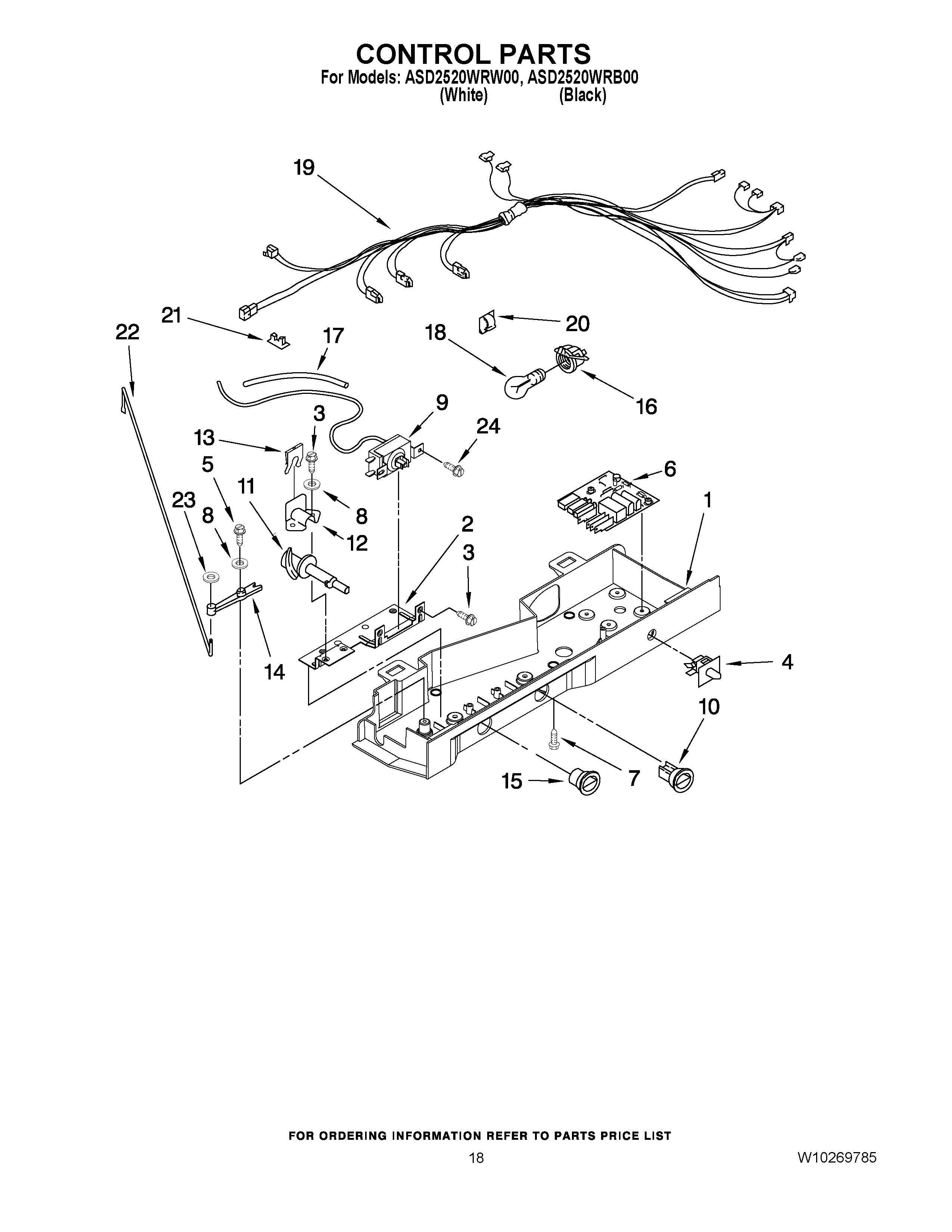
ASD2520WRB00 11 – CONTROL PARTS