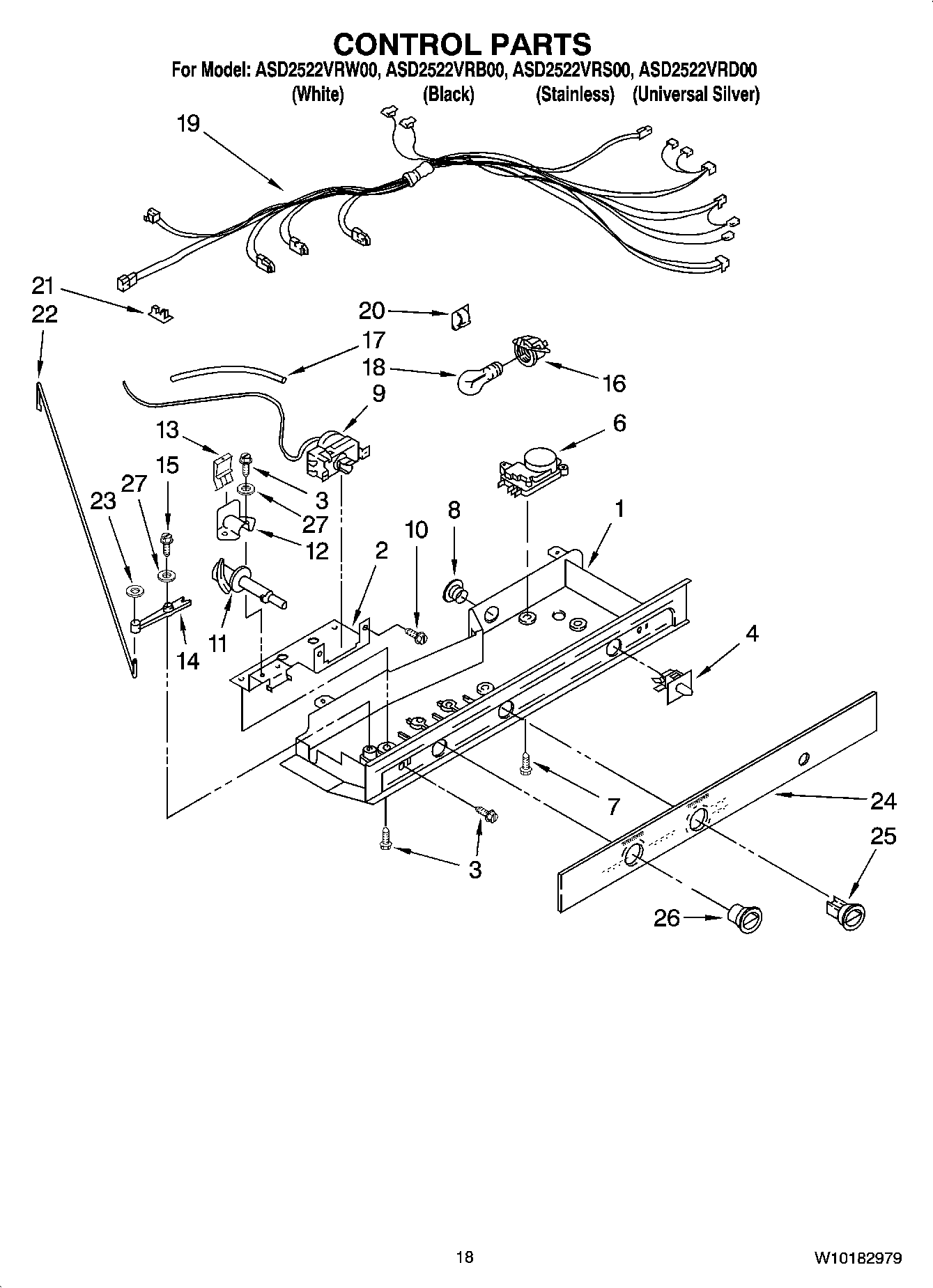
ASD2522VRB00 11 – CONTROL PARTSadmin2025-04-26T08:56:09+00:00ASD2522VRB00 11 – CONTROL PARTS ProductsPositionProduct1MAY 22001372MAY 11106293Screw4MAY 21497056MAY 21883757Screw8MAY 9400149MAY 219820210Screw11MAY 218219512MAY 111056013Damper Control14MAY 111055915MAY 62706816Socket, Light17TUBE-BARRIER, THERMOSTAT18MAY 52794919MAY 220651220MAY 111537421Clip-Wiring22MAY 112396023MAY 48928524MAY W1012738025Thermostat knob26MAY 219787127Spring Washer