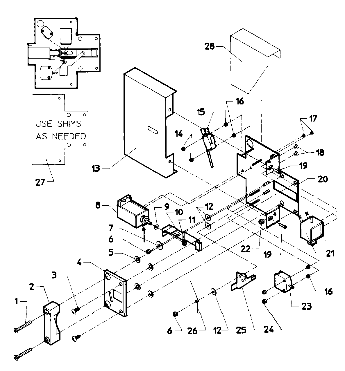
AT35PN1 03 – DOOR SAFETY INTERLOCK – COIN MODELS

AT35PN1 03 – DOOR SAFETY INTERLOCK – COIN MODELS