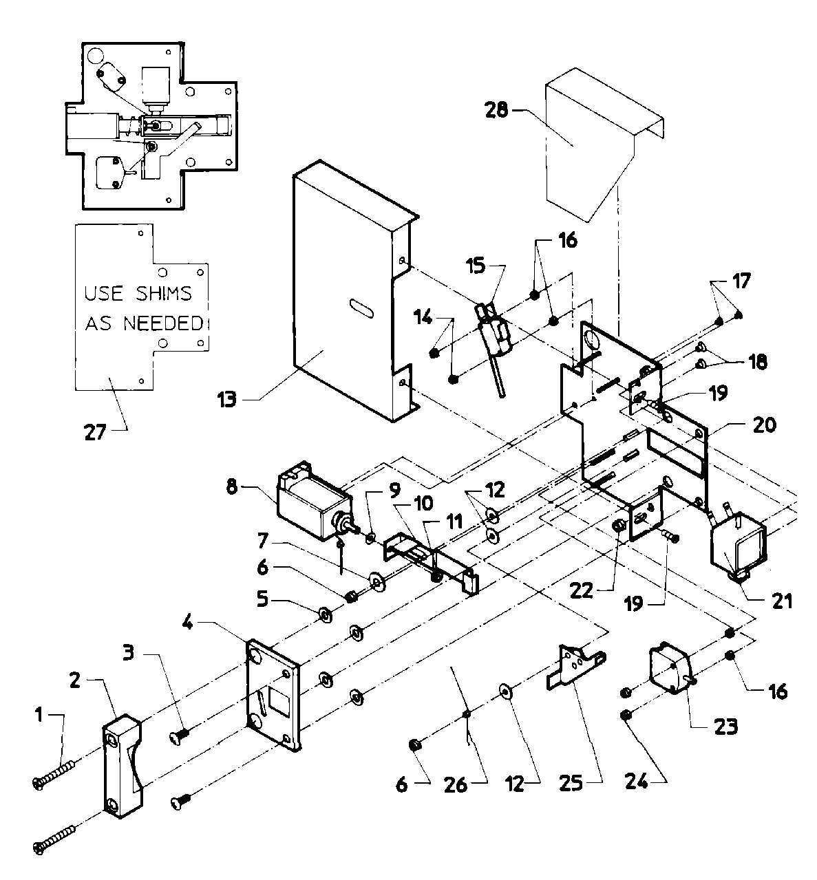
AT50MC1 04 – DOOR SAFETY INTERLOCK (AT50MC)