AVS08FAC1 2
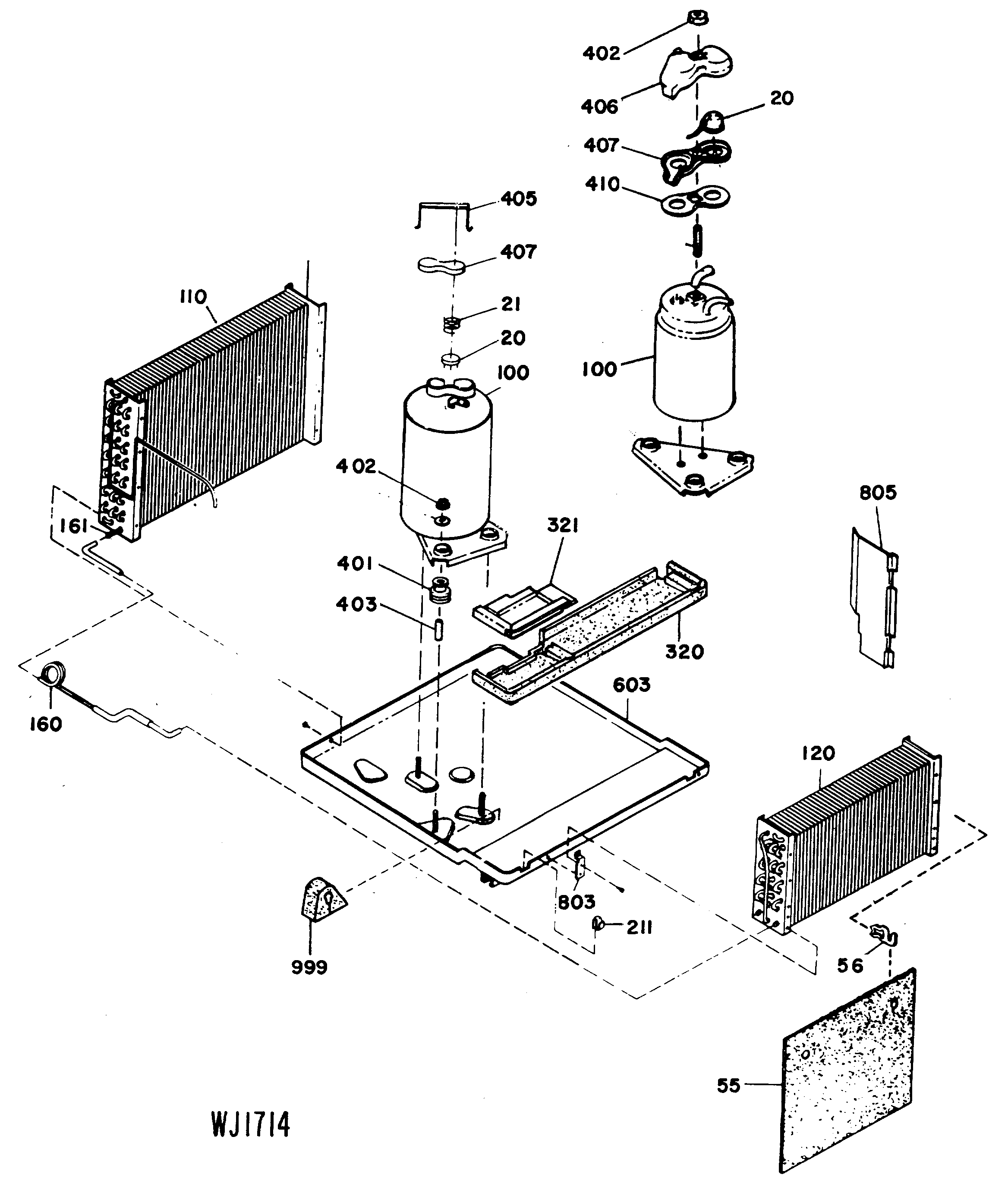
Products
| Position | Product |
|---|---|
| 20 | GEN WJ23X0326 |
| 55 | GEN WJ85X0164 |
| 56 | GEN WJ02X0557 |
| 100 | GEN WJ98X1043 |
| 110 | GEN WJ88X0282 |
| 120 | GEN WJ87X0316 |
| 160 | GEN WJ53X0213 |
| 161 | GEN WJ56X0094 |
| 211 | GRILLE CLIP BTM |
| 320 | GEN WJ70X0371 |
| 321 | GEN WJ79X0565 |
| 401 | GEN WJ01X0891 |
| 402 | NUT, COMPRESSOR MTG |
| 403 | GEN WJ01X0893 |
| 406 | GEN WJ79X0567 |
| 407 | GEN WJ79X0566 |
| 410 | GEN WJ43X0460 |
| 603 | GEN WJ89X0133 |
| 803 | GEN WJ02X0558 |
| 805 | GEN WJ65X0399 |
| 999 | GEN WJ05X0070 |