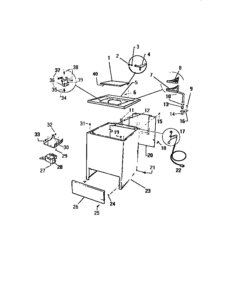
AW200A0D 03 – CABINET, TOP PANEL