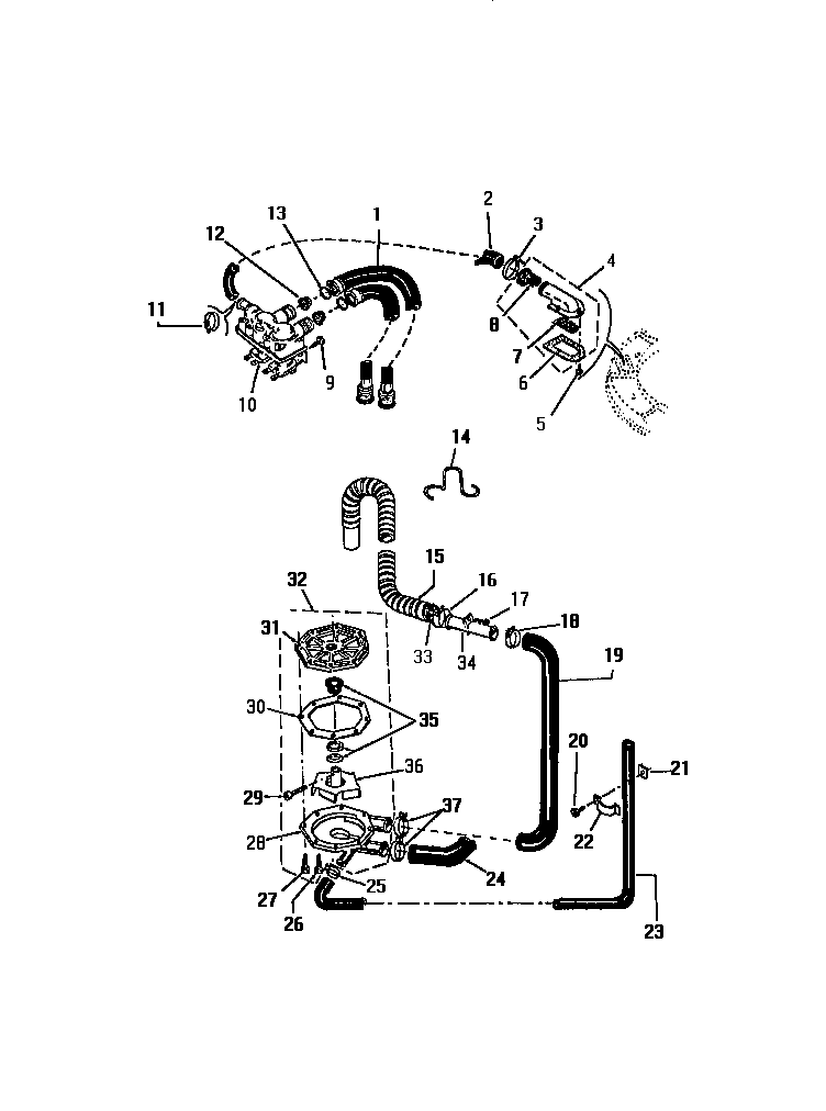
AW200A0D 05 – PUMP, HOSESadmin2025-04-26T08:50:35+00:00AW200A0D 05 – PUMP, HOSES ProductsPositionProduct*82731WCI 133063-000*82729WCI 077678-100*82733WCI F139821-100*82730WCI 064709-100*82732WCI F139821-0001A5303912532 Frigidaire Hose Inlet 60"2WCI F137508-0003WCI F064154-0104WCI F137017-00055304455649 Frigidaire Refrigerator Screw6WCI F138571-0007WCI F138570-0008WCI F137506-0009SEMS SCREW, WATER VALVE MOUNTING (2)10134190200 Frigidaire Washer Water Valve11WCI F064154-00312WCI F076138-011135303161296 Frigidaire Washer-Inlet Hose (1Piece)14WCI F131968-00015WCI F137465-00016WCI F064154-01517WCI F131276-00019WCI F140089-000205303015671 Frigidaire Bracket Termination Screw21WCI F078029-00022WCI F130491-10023WCI F078921-00024WCI F077278-00025154611101 Frigidaire Dishwasher Clamp265304401796 Frigidaire Screws27SCREW, PUMP MOUNTING (4)28WCI F139551-00029IMPELLER SCREW30WCI F077354-00031WCI F139550-00032WCI F137076-00033WCI F132251-00034WCI F130441-00035WCI F076143-00036WCI F079428-00037WCI F064154-012