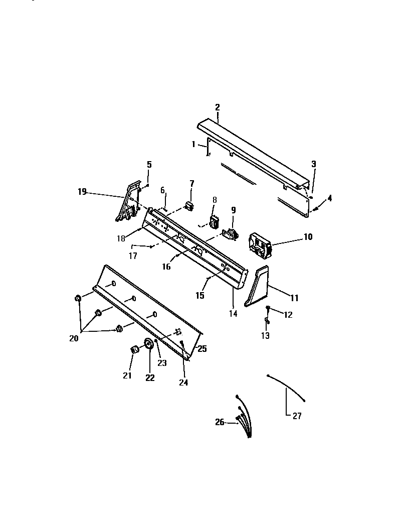
AW300C0T 02 – CONSOLE & CONTROLSadmin2025-04-26T08:50:47+00:00AW300C0T 02 – CONSOLE & CONTROLS ProductsPositionProduct*39884TOUCH-UP SPRAY PAINT (6 OZ. AEROSOL), WHEAT*39881TIE-HARN TOP PNL (NON-ILLUSTRATED)*39880WCI F136345-0001WCI F139230-0262COVER-TOP3WCI F139635-00045303015671 Frigidaire Bracket Termination Screw5WCI F139577-0006131205100 Frigidaire Screw7WATER TEMPERATURE SWITCH9WCI F139790-00010WCI F140432-00011WCI F139719-00012131243800 Frigidaire Screw13WCI F079171-00014BRACKET, MTG.15WCI F060796-00016131168200 Frigidaire Dryer Screw18SCREW SWITCH TO BRACKET ( 2 )19WCI F139719-10020ROTARY KNOB (2)21WCI F141025-00022TIMER POINTER23WCI F078212-00024WCI F140203-00025WCI F141111-10026WCI F140601-00027HARNESS-GROUND