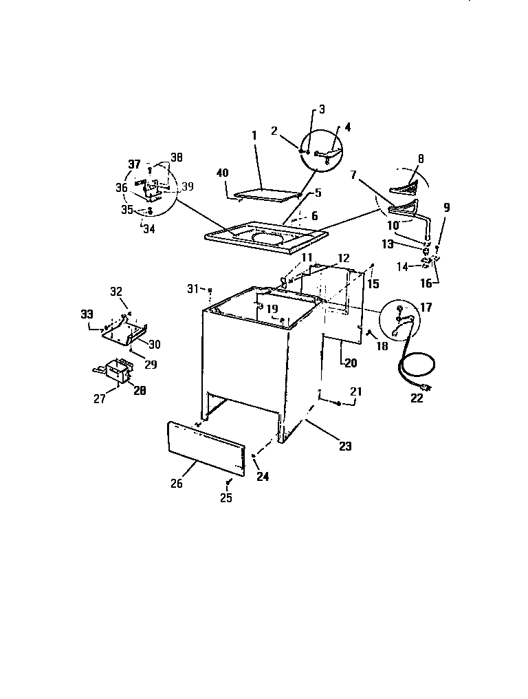
AW400A0T 03 – CABINET, TOP PANELadmin2025-04-26T08:51:12+00:00AW400A0T 03 – CABINET, TOP PANEL ProductsPositionProduct*82725TOUCH-UP SPRAY PAINT (6 OZ. AEROSOL), WHEAT1WCI F077149-03825304455649 Frigidaire Refrigerator Screw4WCI F131521-0005WCI F139399-0386WCI F064572-00011WCI F131174-00012WCI F132080-00017SEMS SCREW, WATER VALVE MOUNTING (2)185303015671 Frigidaire Bracket Termination Screw19WCI F130448-00020WCI F139218-02621131205500 Frigidaire Screw22A5303209428 Frigidaire Serv.Cord Bushing22WCI F139386-00023WCI F139375-03824WCI F079109-00025WCI F136470-00026PANEL ACCESS (WHEAT)27SEMS SCREW (2)28WCI F133600-00029WCI F066434-00030WCI F139382-00031WCI F001345-00032WCI F063676-00034WCI F060582-00035WCI F061076-00036WCI F060508-00037WCI F060509-00038SCREW ( 4 )39WCI F066964-00040WCI F079149-000