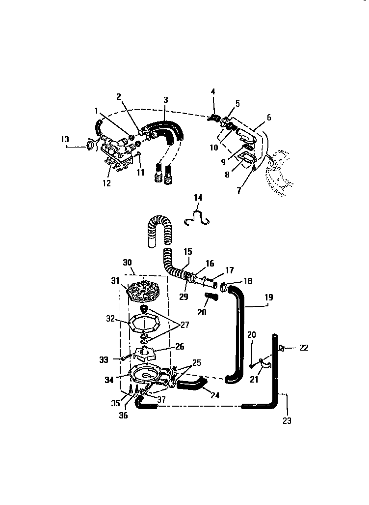
AW400C0W 05 – PUMP, HOSESadmin2025-04-26T08:50:46+00:00AW400C0W 05 – PUMP, HOSES ProductsPositionProduct*39896WCI F139821-100*39897WCI 133063-000*39898WCI 064709-100*39899WCI 077678-100*39895WCI F139821-0001WCI F076138-01125303161296 Frigidaire Washer-Inlet Hose (1Piece)3A5303912532 Frigidaire Hose Inlet 60"4WCI F137862-0005WCI F064154-0106WCI F137017-00075304455649 Frigidaire Refrigerator Screw8WCI F138571-0009WCI F138570-00010WCI F137506-00011WCI F141175-00012134190200 Frigidaire Washer Water Valve13WCI F064154-00314WCI F131968-00015WCI F137465-00016WCI F064154-01516AWCI F141124-00017WCI F131276-00018WCI F064154-01319HOSE-PUMP TO COUPLING20WCI F140073-00021WCI F130491-10022WCI F078029-00023WCI F078821-00024WCI F077278-00025WCI F140887-02826WCI F079428-00027WCI F076143-00028WCI F141123-00029WCI F132251-00030PUMP ASSY COMPLETE31WCI F077352-00032WCI F077354-00033IMPELLER SCREW34HOUSING, PUMP35SCREW, PUMP MOUNTING (4)365304401796 Frigidaire Screws37WCI F140887-020