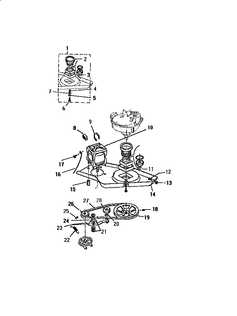
AW500C0V 06 – MOTOR