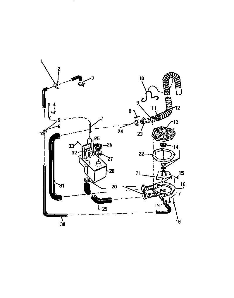
AWC340A0W 05 – PUMP, HOSESadmin2025-04-26T08:50:48+00:00AWC340A0W 05 – PUMP, HOSES ProductsPositionProduct1WCI F130493-00025303015671 Frigidaire Bracket Termination Screw3WCI F063430-0064SPEED CLIP, PRESSURE HOSE TO CABINET (2)6CLAMP, DRAIN HOSE TO TUB75304401845 Frigidaire Tube Pressure8WCI F131276-0009WCI F064154-01510WCI F131968-00011WCI F132251-00012WCI F137465-00013WCI F077352-00014WCI F076143-00015IMPELLER SCREW16HOUSING, PUMP17SCREW, PUMP MOUNTING (4)185304401796 Frigidaire Screws19154611101 Frigidaire Dishwasher Clamp20WCI F064154-01221WCI F079428-00022WCI F077354-00023WCI F130441-00024WCI F064154-01125WCI F139592-00026AADHESIVE, 1 OUNCE26GROMMET (USE F133016000 PRIMER ADHESIVE AND 08006576 ADH27CLAMP28WCI F077276-00029WCI F139191-00030WCI F078854-00031WCI F079173-00032WCI F140324-00033WCI F136471-000