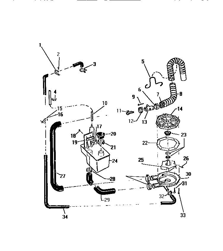
AWC340A1T 05 – PUMP, HOSESadmin2025-04-26T08:51:13+00:00AWC340A1T 05 – PUMP, HOSES ProductsPositionProduct1WCI F130493-00025303015671 Frigidaire Bracket Termination Screw4SPEED CLIP, PRESSURE HOSE TO CABINET (2)5WCI F131968-0006WCI F064154-0157WCI F132251-0008WCI F137465-0009WCI F131276-000105304401845 Frigidaire Tube Pressure11WCI F141123-00012WCI F064154-01113WCI F141124-00014WCI F077352-00016CLAMP, DRAIN HOSE TO TUB17WCI F139592-00018WCI F136471-00019WCI F140324-00020GROMMET (USE F133016000 PRIMER ADHESIVE AND 08006576 ADH20AADHESIVE, 1 OUNCE21CLAMP22WCI F077354-00023WCI F076143-00024WCI F077276-00025WCI F079428-00026IMPELLER SCREW27WCI F141126-00028WCI F140887-02729WCI F139191-00030HOUSING, PUMP31SCREW, PUMP MOUNTING (4)32WCI F140887-021335304401796 Frigidaire Screws34WCI F141135-00034A5304464772 Frigidaire Refrigerator Wire Tie