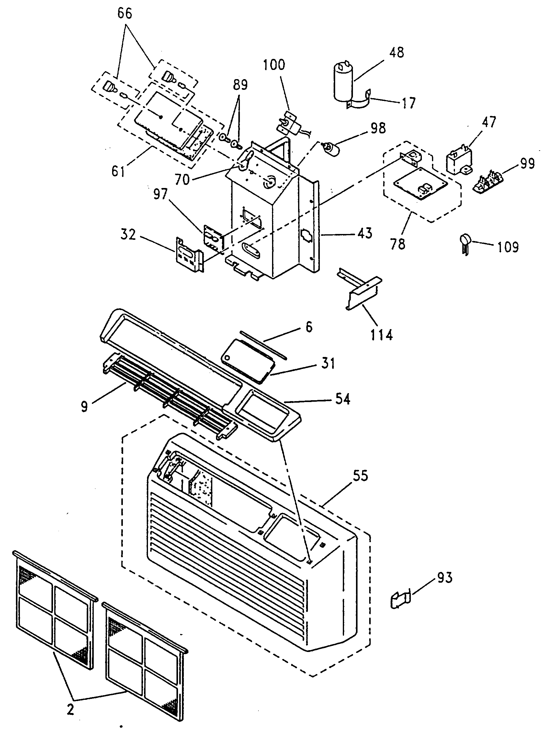
AZ31H15EADV1 0admin2025-04-26T08:39:28+00:00AZ31H15EADV1 0 ProductsPositionProduct2GEN WP85X00156GEN WP04X00049GEN WP71X004617GEN WP03X001331GEN WP71X004432GEN WP79X006837GEN WP70X012143GEN WP79X006547GEN WP20X003748GEN WP20X004154GEN WP71X004555GEN WP70X011061GEN WP07X006966GEN WP12X000970GEN WP01X002978GEN WP29X004589GEN WP01X002493GEN WP02X003697GEN WP26X003698GEN WP26X003799GEN WP03X0011100GEN WP28X0046109GEN WP27X0041114GEN WP01X0042160GEN WP01X00499999GEN 49-7251