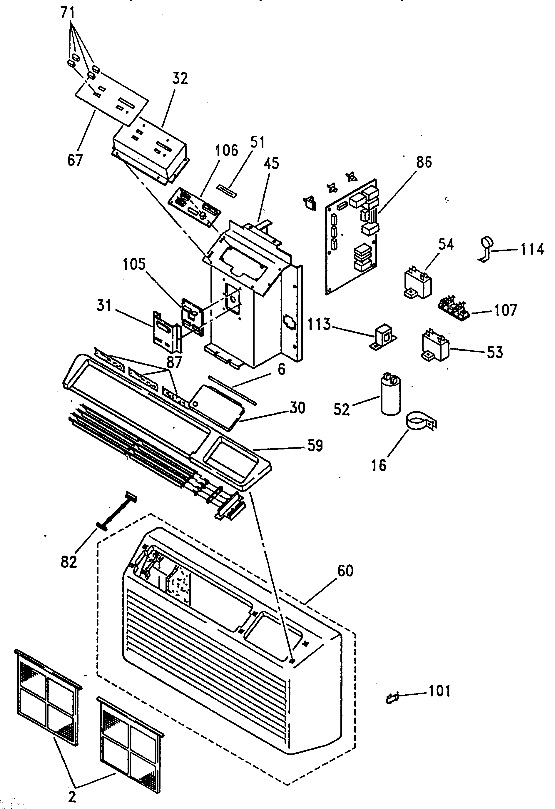
AZ51H12EADV1 0admin2025-04-26T13:14:57+00:00AZ51H12EADV1 0 ProductsPositionProduct2GEN WP85X00156GEN WP04X000410GEN WP71X004816GEN WP03X001330GEN WP71X004431GEN WP79X006932GEN WP79X007045GEN WP79X007151GEN WP85X001852CAPACITOR, COMPRESSOR53GEN WP20X005054GEN WP20X004459GEN WP71X004560GEN WP70X011066GEN WP70X012067GEN WP07X007071GEN WP12X001082GEN WP02X004986GEN WP29X0052101GEN WP02X0036105GEN WP26X0040106GEN WP26X0038107GEN WP03X0011113GEN WP27X0049114GEN WP27X0044160GEN WP01X00499999GEN 49-7269