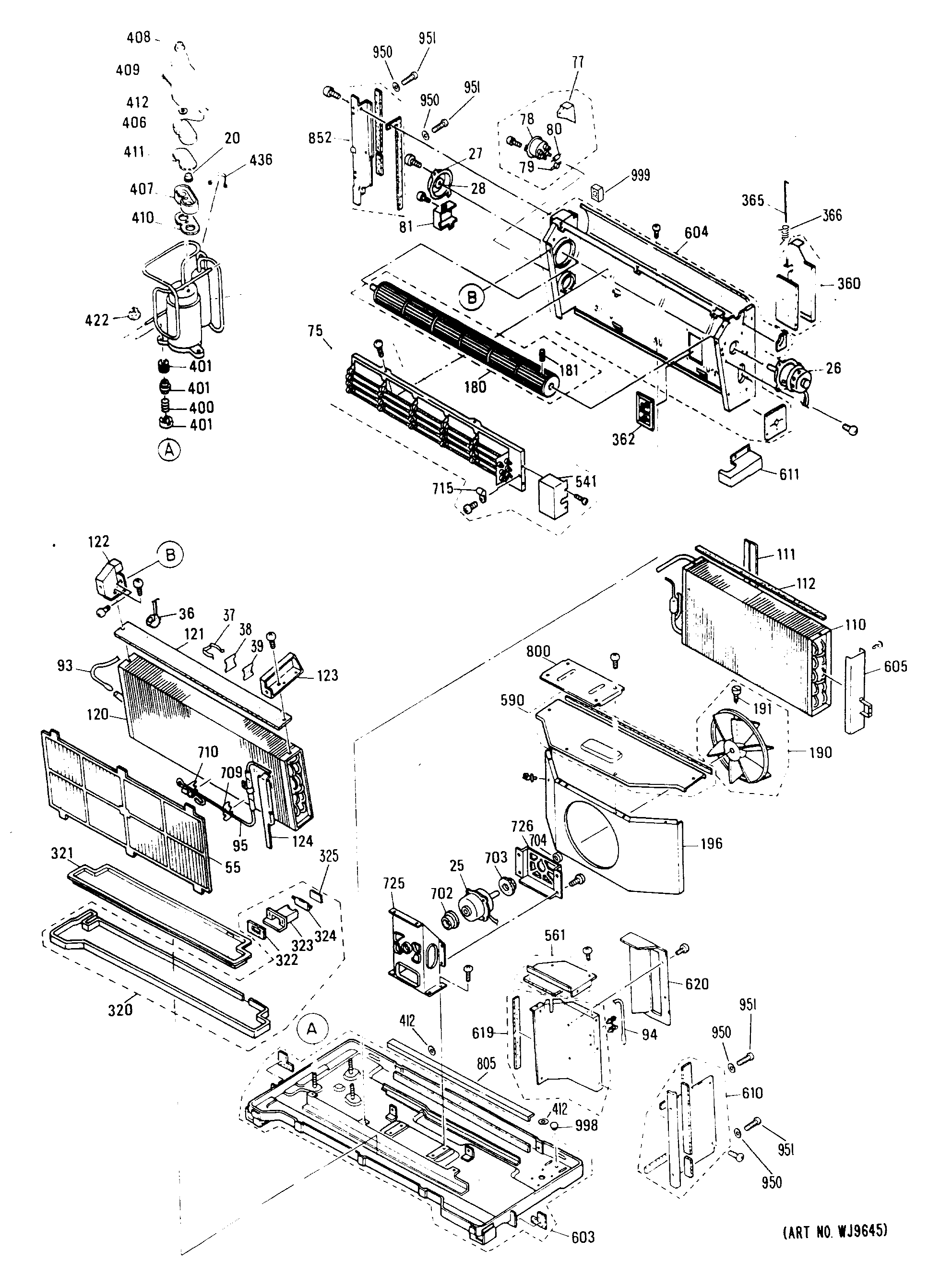
AZC115EDV1 1admin2025-04-26T08:48:32+00:00AZC115EDV1 1 ProductsPositionProduct20GEN WJ23X025925GEN WP94X006526GEN WP94X004827GEN WP76X000828GEN WP76X000736GEN WP28X003639GEN WP02X003055GEN WP85X000875GEN WP70X010077GEN WP79X005278GEN WP76X001179GEN WP23X005480GEN WP23X005581GEN WP79X0039110GEN WP88X0018111GEN WP70X0085112GEN WP43X0025112GEN WP43X0026120GEN WP87X0030122GEN WP79X0043123GEN WP79X0042124GEN WP66X0034180GEN WP74X0003181GEN WP01X0014190GEN WJ73X0150191GEN WP01X0019196GEN WP76X0018320GEN WP70X0082321GEN WP70X0079323GEN WP66X0036324GEN WP66X0037325GEN WP43X0027360GEN WP70X0080362GEN WP85X0010366GEN WP02X0031400GEN WP02X0026401GEN WJ01X0767406GEN WJ79X0431407GEN WJ79X0430408GEN WJ01X0764409GEN WP79X0032410GEN WJ43X0413411GEN WP43X0023412GEN WP01X0017422GEN WJ01X0722436GEN WJ02X0485541GEN WP79X0038561GEN WP79X0044590GEN WP79X0054603GEN WP89X0008604GEN WP76X0013605GEN WP81X0009610GEN WP82X0017611GEN WP79X0031619GEN WP70X0089620GEN WP70X0086702GEN WP60X0012703MOTOR SEAL709GEN WP02X0023715GEN WP02X0022725GEN WP65X0003726GEN WP65X0004800GEN WP65X0005852GEN WP82X0013950GEN WP01X0020951GEN WP01X0021998GEN WJ01X0798999GEN WP43X0029