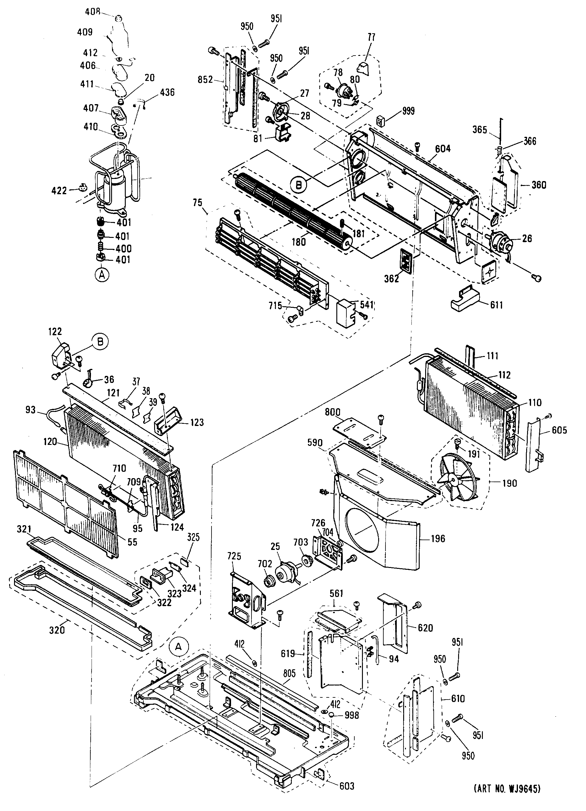
AZC209DBV3 2