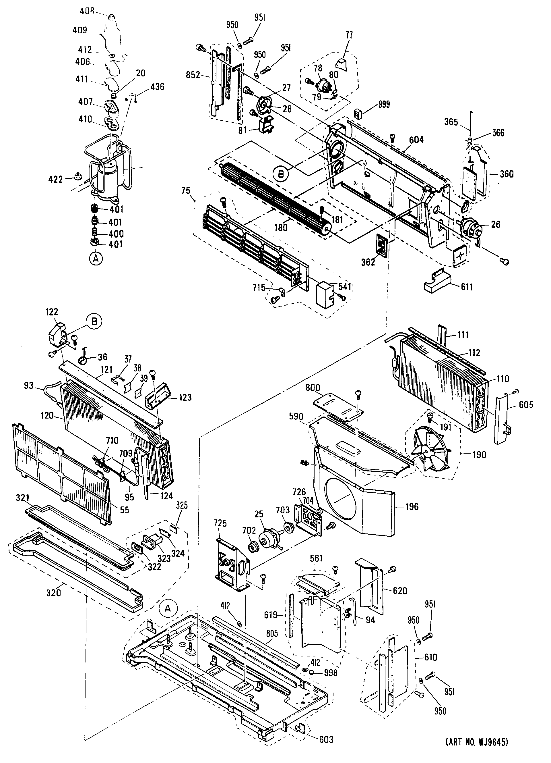
AZC212DBV3 2