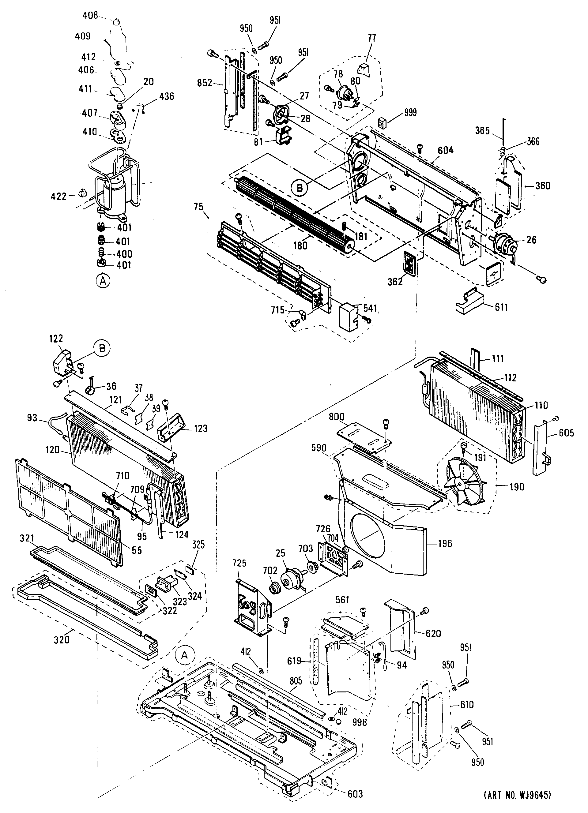
AZR206DBV3 2