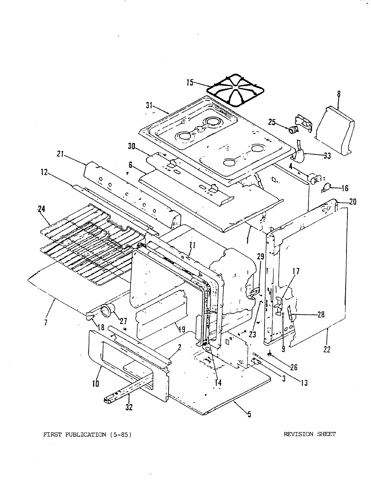
B31FA-2X-ON 01 – BODY