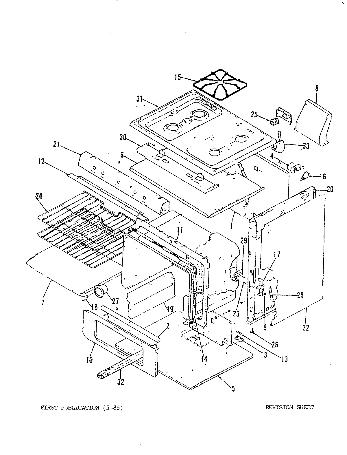
B31FK-3KW 01 – BODYadmin2025-04-26T09:11:30+00:00B31FK-3KW 01 – BODY ProductsPositionProduct1MAY 4002F044-201MAY 09031151MAY 4002F045-451MAY 4002F124-451MAY 4002F078-451MAY 09031062MAY 3601F100-232MAY 01533253MAY 18672624MAY 18672584MAY 18672715MAY 4011F079-205MAY 4011F097-205MAY 02362386MAY 02371307MAY 02342828MAY 3801F101-808MAY 4006W026-808MAY 02843078MAY 02843168MAY 04442408MAY 02843058MAY Y03152068MAY 02843159MAY 10132149MAY 11412379MAY 114123310MAY 2201F034-2510MAY 046223211MAY Y046223412MAY 046222613MAY 129920214MAY 172625615MAY Y050521816MAY 7105P002-6017MAY 3418F030-3417MAY 135845417MAY 7711P173-6017MAY 3418F029-3417MAY Y050722918MAY 7407P026-6019MAY 060639120MAY 155526620MAY 4009W040-8020MAY 4009W059-8020MAY Y066320221MAY 0686289X22MAY 0801240X22MAY 2618F073-7023MAY 158420423MAY 160520324MAY 163625425MAY 165720226MAY 198621427MAY Y053724128MAY 178320028MAY 179030628MAY 011510129MAY 086247030MAY 086244630MAY 183239930MAY 182826431MAY 2001F035-9031MAY 0902288X32MAY 3404A013-5132MAY 3404A014-5132MAY 7712P006-6032MAY 3404A001-5133MAY 7402P014-6033MAY 7402P011-60