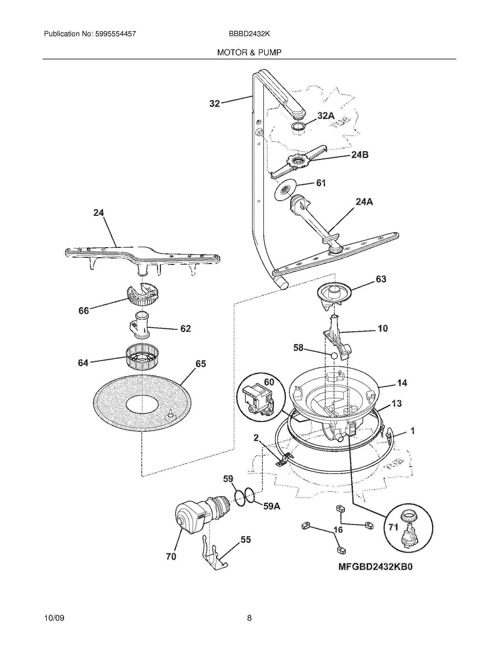
BBBD2432KB0 09 – MOTOR & PUMP

BBBD2432KB0 09 – MOTOR & PUMP

Products

PositionProduct
NIWCI 154200601
NI154754901 Frigidaire Dishwasher Screw
NI154741501 Frigidaire Dishwasher Screw
NI154611101 Frigidaire Dishwasher Clamp
NI154491101 Frigidaire Dishwasher Screw
NI154289801 Frigidaire Dishwasher Shield
NI154106202 Frigidaire Dishwasher Heater Nut
NI807048001 Frigidaire Dishwasher Check Valve
NIWCI 5303316032
NI154297701 Frigidaire Dishwasher Screw
1154825001 Frigidaire Dishwasher Round Heater Heating Element
2154465101 Frigidaire Dishwasher Heating Element Support Bracket
10154724001 Frigidaire Lower Arm Support
13154246801 Frigidaire Dishwasher Primary Gasket
14154723801 Frigidaire Dishwasher SUMP Assembly
16154246502 Frigidaire Dishwasher Bracket
24B5304506516 Frigidaire Dishwasher Upper Spray Arm
24AA01986801 Frigidaire Upper Rack Assembly
245304517203 Frigidaire Dishwasher Lower Wash Arm Assembly
32A154406401 Frigidaire Delivery Tube Gasket
325304507087 Frigidaire Dishwasher Tube
555304534830 Frigidaire Dishwasher Bracket
58154246402 Frigidaire Dishwasher P-1 BALL
59A154247001 Frigidaire Dishwasher Pump Gasket Seal for the Motor and Front
59154246901 Frigidaire Dishwasher Rear O-Ring for 154473001 Motor
60A00126401 Frigidaire Dishwasher Drain Pump Assembly
615304506517 Frigidaire Dishwasher Grommet Assembly
625304518968 Frigidaire Lower Spray Arm Support
645304506533 Frigidaire Dishwasher Filter Base
65154283005 Frigidaire Dishwasher Filter Assembly
665304532206 Frigidaire Trap
70154844301 Frigidaire Dishwasher Motor Kit
71154762601 Frigidaire Dishwasher Turbidity Sensor