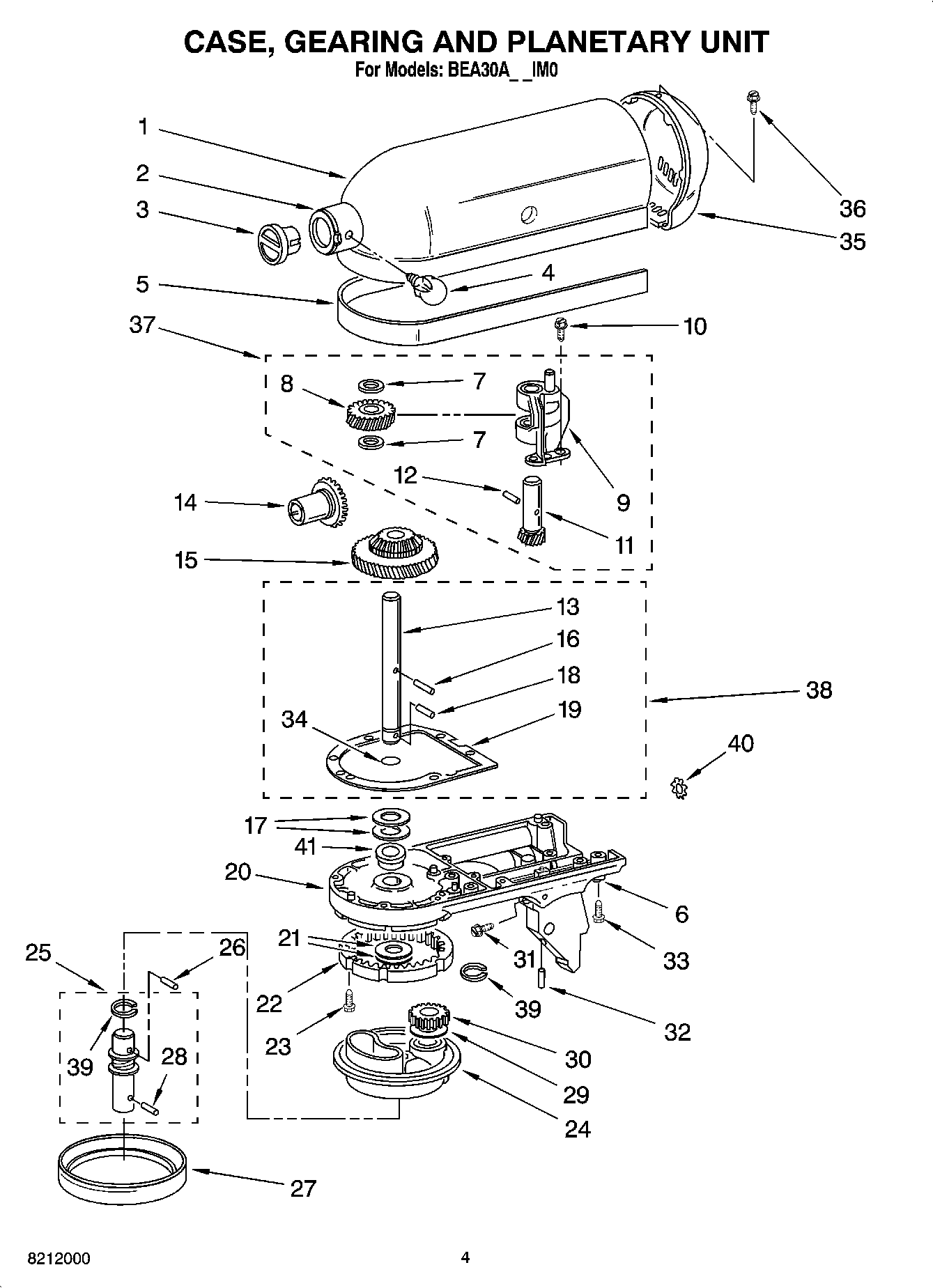
BEA30ATAIM0 03 – CASE, GEARING AND PLANETARY UNITadmin2025-04-26T12:05:51+00:00BEA30ATAIM0 03 – CASE, GEARING AND PLANETARY UNIT ProductsPositionProduct1Gearcase Motor Housing (Includes Illus 2)24159709 Whirlpool Ring3Cap, Attachment Hub4WP9709194 Whirlpool Black Thumb Screw5Band, Trim6WP8533914 Whirlpool Lock7WPW10323373 Whirlpool Washer8WPW10112253 Whirlpool Gear Assembly9W11082541 Whirlpool Bearing10W11097298 Whirlpool Dishwasher Screw11Shaft & Pinion12WP9705444 Whirlpool Pin Groove13WP240026 Whirlpool Control Shaft14W11192794 Whirlpool HUB Gear18WP9705443 Whirlpool Pin Groove19WP4162324 Whirlpool Case Gasket20Lower Gear Case21WPW10323378 Whirlpool Washer22W11340106 Whirlpool Gear Assembly23Screw, Special (5)24Planetary25WP243368 Whirlpool Agitator Shaft26Pin (Vertical Center Shaft)27WP240285 Whirlpool Drip Ring28W11664709 Whirlpool Groove Pin29Washer, Shim (.015`` Thk.) (.031`` Thk.)30W11133645 Whirlpool Pinion Gear31W11028216 Whirlpool Screw32WP3400203 Whirlpool Screw33WP3400025 Whirlpool Screw34O RING35Cover, End36WP241877 Whirlpool Screw37GEAR, WORM AND BRACKET384160474 Whirlpool Control Shaft39WP9703438 Whirlpool Snap Retaining Ring40W11170663 Whirlpool Washer41WP16897 Whirlpool Bearing