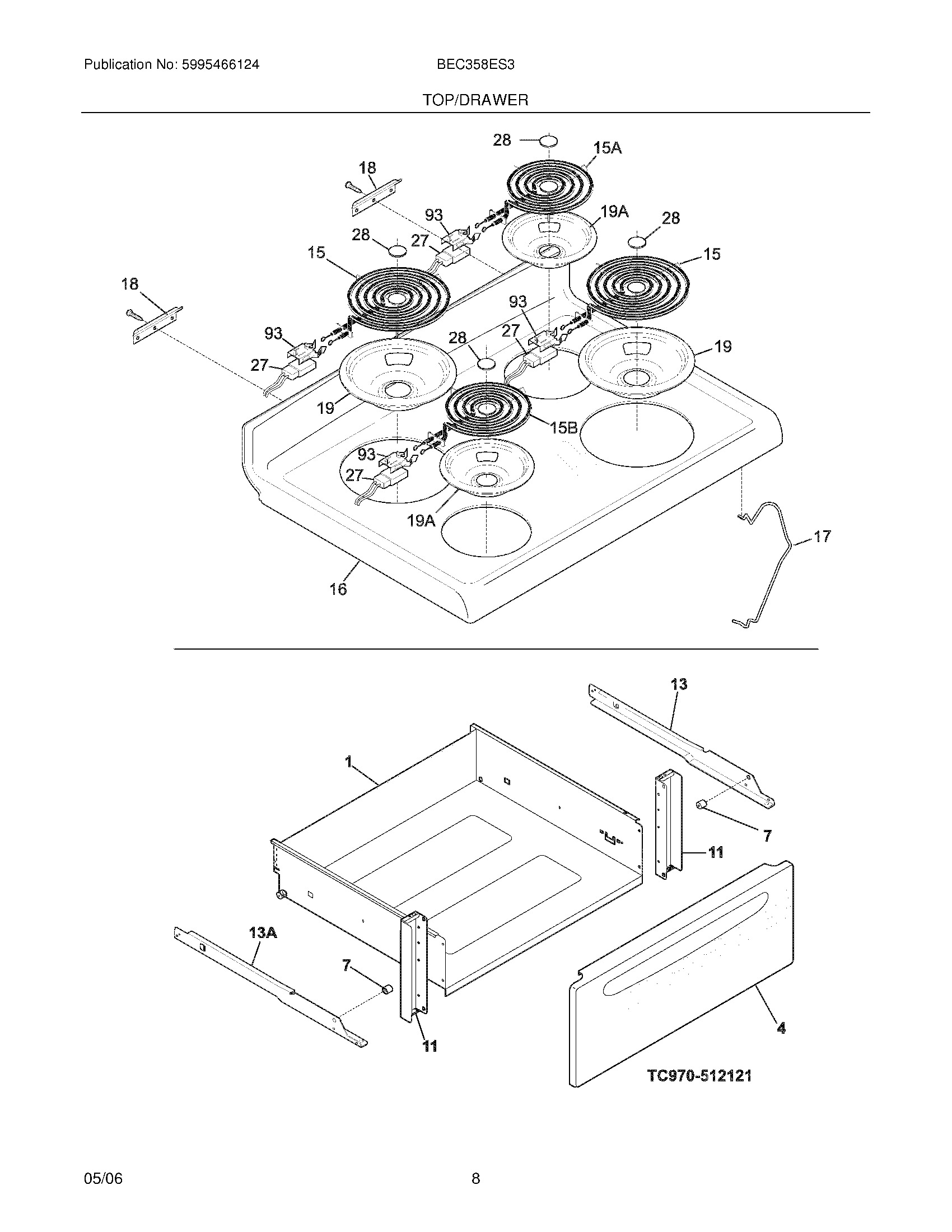
BEC358ES3 07 – TOP/DRAWERadmin2025-04-26T08:49:12+00:00BEC358ES3 07 – TOP/DRAWER ProductsPositionProductNI5303300265 Frigidaire Oven ScrewNISCREW,TRUSS HEAD,8-18 X 0.375NI5303211311 Frigidaire Refrigerator ScrewNI5303323137 Frigidaire Oven Screw15304505701 Frigidaire Drawer Body with Roller4WCI 3183030247318332211 Frigidaire Oven Roller11WCI 31831150313AWCI 31801810113WCI 31801810015B316439802 Frigidaire Surface Element Assembly15A318372211 Frigidaire Oven 6" Electric Range Burner Kit15316442303 Frigidaire Oven Element16WCI 31806578117WCI 31811910018WCI 31807441019A316222301 Frigidaire Oven 8" Porcelain Drip Bowl Range19AA316222201 Frigidaire Oven Drip Bowl Assembly27WCI 31822342827WCI 318223429285303017715 Frigidaire Medallion28MEDALLION, STAINLESS STEEL, SURF ELEM93WCI 318122500