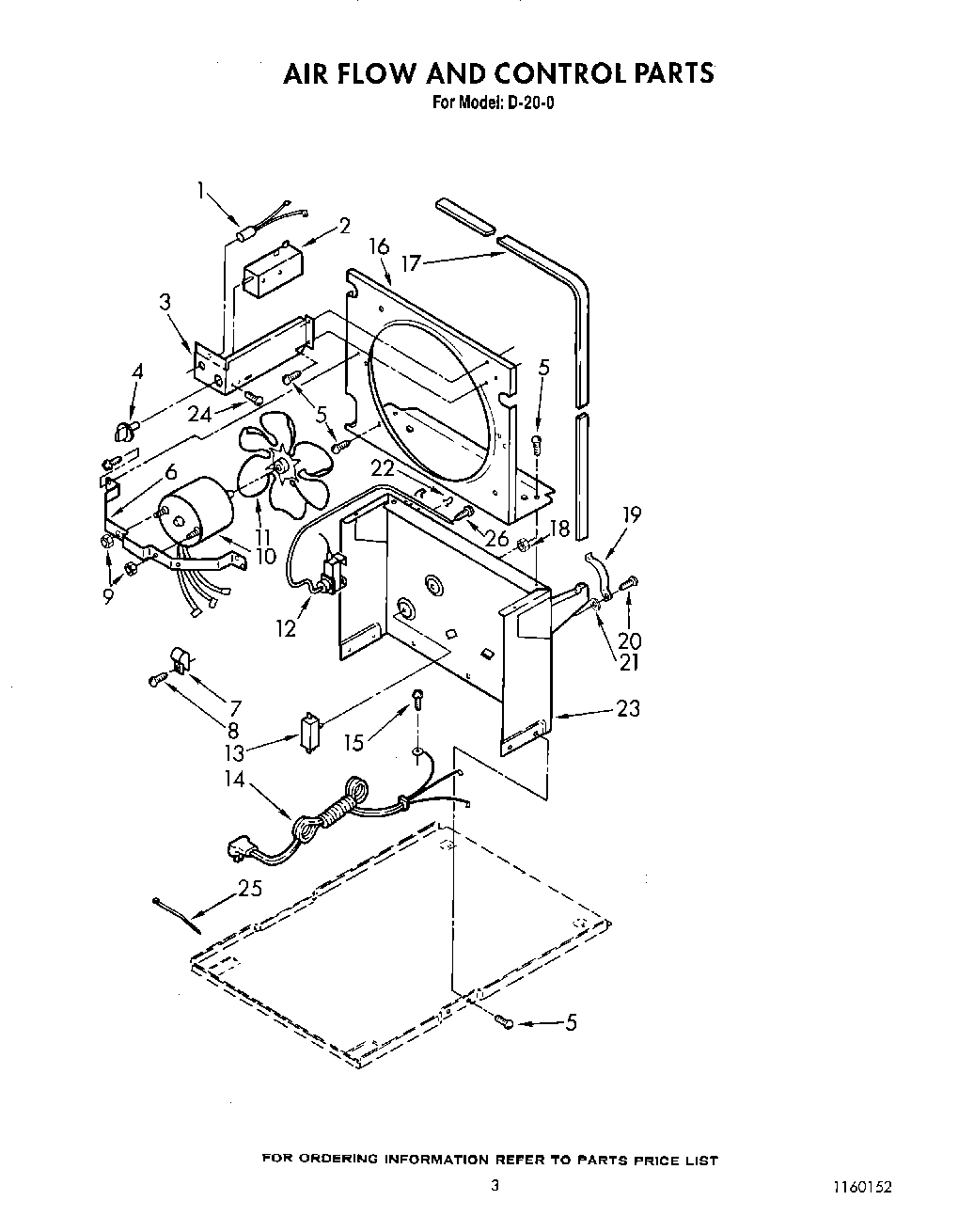
BFD200 03 – SECTION