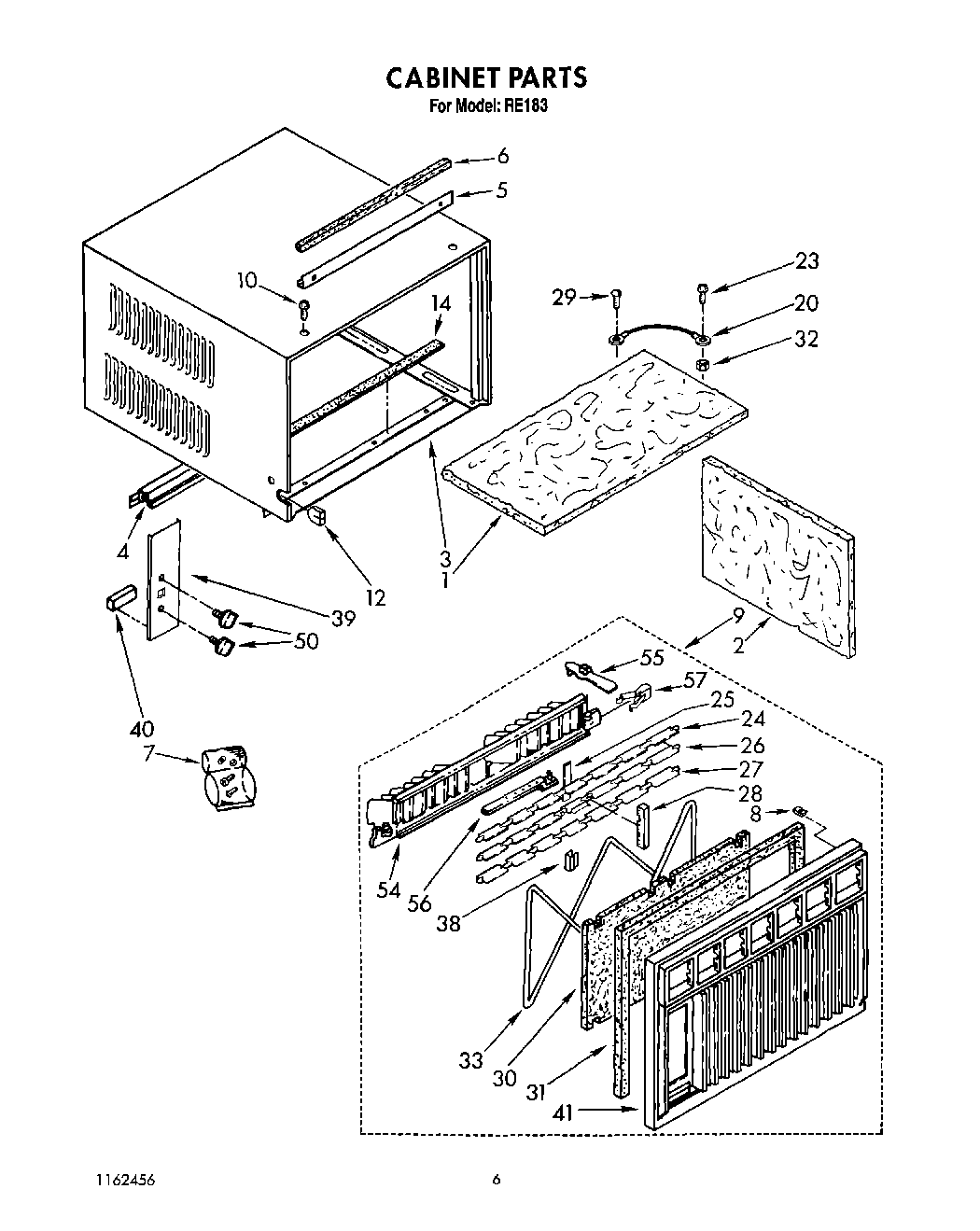
BFRE183 04 – CABINET