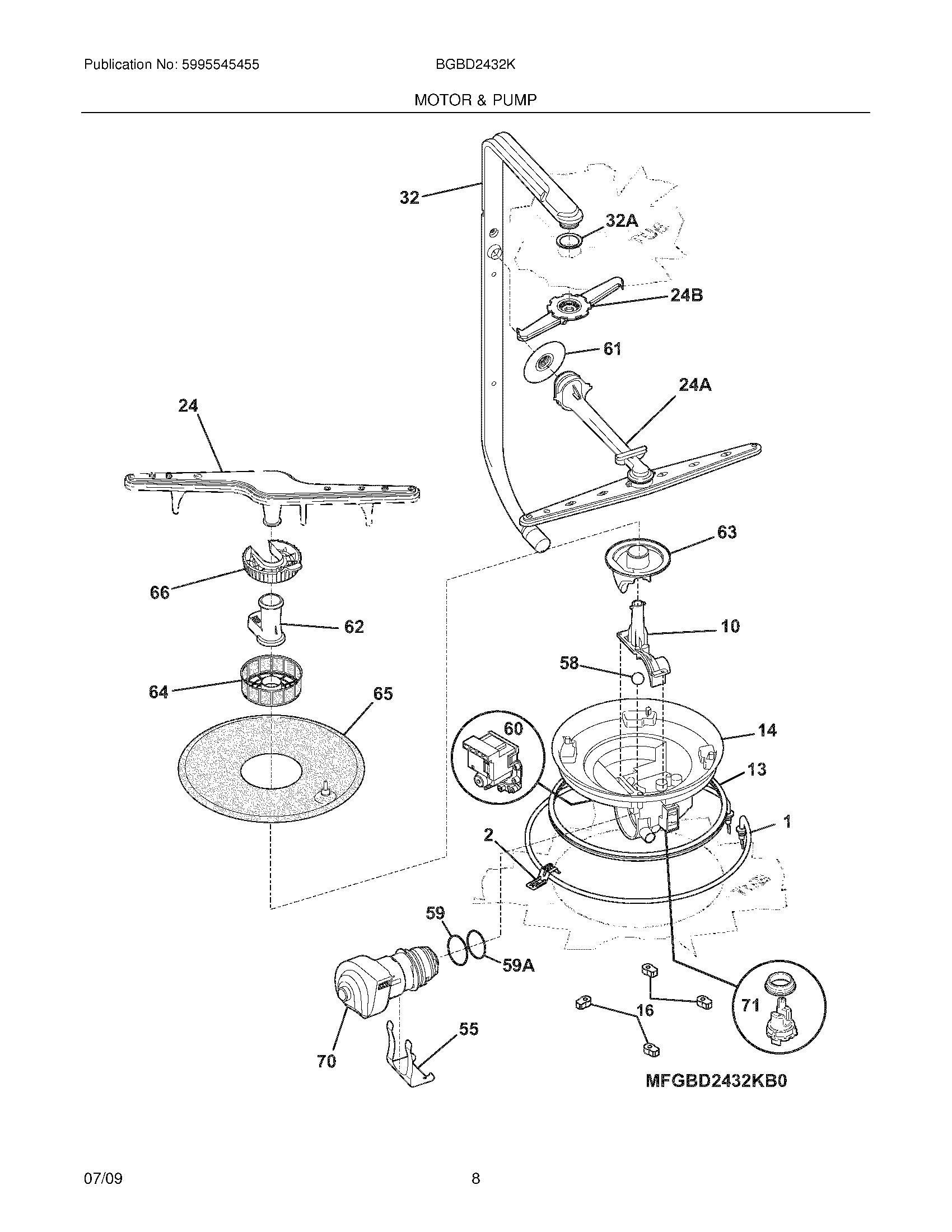
BGBD2432KF0 09 – MOTOR & PUMPadmin2025-04-26T08:48:42+00:00BGBD2432KF0 09 – MOTOR & PUMP ProductsPositionProductNIWCI 154200601NI154741501 Frigidaire Dishwasher ScrewNI154611101 Frigidaire Dishwasher ClampNI154491101 Frigidaire Dishwasher ScrewNI154289801 Frigidaire Dishwasher ShieldNI154106202 Frigidaire Dishwasher Heater NutNI807048001 Frigidaire Dishwasher Check ValveNIWCI 5303316032NI154297701 Frigidaire Dishwasher Screw1154825001 Frigidaire Dishwasher Round Heater Heating Element2154465101 Frigidaire Dishwasher Heating Element Support Bracket10154724001 Frigidaire Lower Arm Support13154246801 Frigidaire Dishwasher Primary Gasket14154723801 Frigidaire Dishwasher SUMP Assembly16154246502 Frigidaire Dishwasher Bracket24B5304506516 Frigidaire Dishwasher Upper Spray Arm24AA01986801 Frigidaire Upper Rack Assembly245304517203 Frigidaire Dishwasher Lower Wash Arm Assembly32A154406401 Frigidaire Delivery Tube Gasket325304507087 Frigidaire Dishwasher Tube555304534830 Frigidaire Dishwasher Bracket58154246402 Frigidaire Dishwasher P-1 BALL59154246901 Frigidaire Dishwasher Rear O-Ring for 154473001 Motor59A154247001 Frigidaire Dishwasher Pump Gasket Seal for the Motor and Front 60A00126401 Frigidaire Dishwasher Drain Pump Assembly615304506517 Frigidaire Dishwasher Grommet Assembly625304518968 Frigidaire Lower Spray Arm Support645304506533 Frigidaire Dishwasher Filter Base65154283005 Frigidaire Dishwasher Filter Assembly665304532206 Frigidaire Trap70154844301 Frigidaire Dishwasher Motor Kit71154762601 Frigidaire Dishwasher Turbidity Sensor